中华人民共和国行业标准
备案号J 2769-2019
中华人民共和国住房和城乡建设部公告
2019年第309号
住房和城乡建设部关于发布行业标准《民用建筑修缮工程施工标准》的公告
现批准《民用建筑修缮工程施工标准》为行业标准,编号为JGJ/T 112-2019,自2020年3月1日起实施。原行业标准《民用房屋修缮工程施工规程》CJJ/T 53-93同时废止。
本标准在住房和城乡建设部门户网站(www.mohurd.gov.cn)公开,并由住房和城乡建设部标准定额研究所组织中国建筑出版传媒有限公司出版发行。
中华人民共和国住房和城乡建设部
2019年11月29日
前言
根据住房和城乡建设部《关于印发<2014年工程建设标准规范制订、修订计划>的通知》(建标[2013]169号)的要求,标准编制组经广泛调查研究,认真总结实践经验,参考有关国际标准和国外先进标准,并在广泛征求意见的基础上,修订了本标准。
本标准的主要技术内容是:1.总则;2.术语;3.基本规定;4.地基与基础;5.砌体结构;6.混凝土结构;7.钢结构;8.木结构;9.防水;10.装饰装修;11.门窗;12.楼面及地面;13.给水排水;14.供暖通风与空气调节;15.电气。
本次修订的主要技术内容是:1.进一步明确了不同修缮方法的相应施工要求;2.补充了树根桩、锚杆静压桩加固及房屋纠偏的施工要求;3.补充了砌体修缮补强和防潮层(带)的修缮方法;4.增加了置换混凝土施工技术要求;5.增加了钢结构连接件修缮施工技术要求;6.新增涂膜防水的修缮施工方法;7.新增外墙保温的修缮施工方法;8.新增门窗玻璃的更换施工要求;9.新增空调设备及管道的修换施工要求;10.调整部分规定及指标。
本标准由住房和城乡建设部负责管理,由上海市房地产科学研究院负责具体技术内容的解释。执行过程中如有意见或建议,时请寄送上海市房地产科学研究院(地址:上海市复兴西路193号,邮编:200031)。
本标准主编单位:上海市房地产科学研究院
成龙建设集团有限公司
本标准参编单位:上海房屋工程建设技术发展有限公司
上海建工四建集团有限公司
上海建为历保工程科技股份有限公司
苏州建鑫建设集团有限公司
成都建工第四建筑工程有限公司
上海浦东房屋质量检测有限公司
上海大学
北京筑福建筑科学研究院有限责任公司
凯诺建设有限公司
上海恒基建设工程项目管理有限公司
科顺防水科技股份有限公司
江苏凯伦建材股份有限公司
上海天补房屋修缮工程有限公司
浙江华特装饰股份有限公司
上海杨浦建筑设计有限公司
中启胶建集团有限公司
上海安居房产开发有限责任公司
山西一建集团有限公司
中建一局集团华北建设有限公司
本标准主要起草人员:赵为民史广喜王金强古小英饶卫华周云楼晓礼谢惠庆陈鸿根李瑞礼陈中伟潘建国刘超李建中史先进张蕊俞泓霞张吉鑫张超林华代红超沈三新李熊飞杨树林方增君吴保光丁庆龙顾方兆李改平张鹏孙艰陈伟忠任孝树毕利叶吉王峥李卫东郑树军余雪峰徐金晨张增昌黑增武王瑾任剑锋陈斌毛俊华杨生凤黄立付乔传颉温喜元
本标准主要审查人员:郭道盛陈仕中牛荻涛张铭赵力栗新汪继武孙永民江传胜王自福
1 总则
1.0.1 在民用建筑修缮工程施工中,为做到安全文明、技术先进、经济合理、确保质量,恢复改善现有建筑的使用功能,延长使用年限,制定本标准。
1.0.2 本标准适用于高度不超过100m的民用建筑修缮工程的施工。
1.0.3 民用建筑修缮工程的施工除应符合本标准外,尚应符合国家现行有关标准的规定。
2 术语
2.0.1 剔砌 repairing masonry wall surface
采用剔换因碱蚀、风化、冻融等原因损坏表砖的修缮方法。
2.0.2 掏砌 deep repairing masonry wall
采用分段、间隔、间歇掏换大面积损伤砖砌体的修缮方法。
2.0.3 附檩条 purlin attachment
在原有损坏檩条旁附加檩条进行补强的修缮方法。
3 基本规定
3.0.1 民用建筑修缮工程施工前,应根据查勘设计资料编制施工组织设计及专项施工方案,应准确评估工程对周边建筑和设施设备的影响程度,编制专项成品保护方案及应急处理预案。
3.0.2 修缮工程施工期间,若发现房屋实际状况与查勘设计资料不符,应经查勘设计单位确认后,方可进行后续工序施工。
3.0.3 修缮工程的施工,应对其各工序进行检查,隐蔽工程质量验收通过后,方可进行后续工序施工。
3.0.4 修缮施工中拆除的废旧材料应及时清运离场,新材料应分散放置,严禁楼面超载。
4 地基与基础
4.1 一般规定
4.1.1 地基与基础工程修缮施工前,应具备下列主要资料:
1 工程地质资料;
2 查勘设计资料;
3 建筑附近地下和空中管线资料,包括给水、排水、电气、燃气系统等地下管线的情况;
4 施工组织设计、专项施工方案、成品保护方案及应急预案;
5 房屋沉降、倾斜、裂缝测量资料。
4.1.2 修缮施工过程中,应对房屋的沉降、倾斜及裂缝发展状况进行跟踪监测。当建筑发生异常变形时,应立即采取相应安全处理措施。
4.1.3 修缮施工完成后,应及时修复相关损坏部位,不得影响原设施设备的正常使用。
4.2 地基补强
4.2.1 当采用压密注浆法进行地基补强时,其浆液的配制应符合下列规定:
1 浆液宜采用强度等级不低于42.5级的普通硅酸盐水泥为主材,可根据需要掺入相当于水泥重量20%~50%的粉煤灰或矿粉。
2 浆液拌合水应符合现行行业标准《混凝土用水标准》JGJ 63的规定。
3 浆液应进行过滤,固体颗粒直径不得大于0.1mm;浆液应具有良好的流动性,其扩散半径应能达到查勘设计的要求。
4.2.2 压密注浆法进行地基补强的施工,应符合下列规定:
1 应按查勘设计的孔径、深度、孔距,按先外围孔后内围孔的顺序一次性钻好孔口管。注浆压力宜为0.30MPa~0.60MPa;当注浆压力达到0.6MPa且浆液15min内不再下沉时,可停止注浆。
2 注浆施工过程中,当发生压力不正常、不冒浆或冒浆量超过20%的情况时,应采取相应处理措施。
3 注浆钻孔应按顺序编号。施工期间应对注浆时间、注浆量、注浆深度、注浆压力等数据做好记录。
4.3 基础托换
4.3.1 树根桩的施工应符合下列规定:
1 成孔可采用天然泥浆护壁,当遇易塌孔土层时应加套管。
2 钢筋笼宜整根吊放,宜缩短吊放和焊接时间。
3 灌注施工时,应采用间隔施工、间歇施工或添加速凝剂等措施。
4.3.2 锚杆静压桩的施工应符合下列规定:
1 桩孔宜采用机械和人工配合开凿成形,抗压桩桩孔宜为倒喇叭形,抗拔桩桩孔宜为正喇叭形。桩孔周围锚杆孔宜采用机械成孔,并应与压桩架锚杆孔吻合。
2 桩段应平直,端面应平整。采用焊接接头的混凝土桩段,其两端应设置钢板套。
3 压桩架应竖直,与锚杆固定牢靠,在施工过程中应及时调整松动的螺帽。压桩时,千斤顶与桩轴线应重合,不得偏压。
4 压桩时宜一次到位,当需中途停顿时,桩尖应停留在软弱土层中,停歇时间不应超过24h。当压桩力达到1.5倍设计单机承载力时,在排除桩尖遭遇障碍物或局部硬土层等因素的前提下,经设计、监理单位验收后,方可封桩。
5 压桩过程中,应绘制压机Pp-Z曲线,并应对隐蔽工程进行记录。
6 当压桩过程中遇见下列情况之一时,应与查勘设计单位共同研究处理:
1)压桩力剧变;
2)桩身发生异常倾斜;
3)桩顶或桩身出现严重损坏;
4)原基础出现损坏。
7 封桩时,应将桩孔内杂物积水清除,新旧混凝土界面应清理干净,封桩材料宜采用微膨胀早强型混凝土。有预加荷载要求的桩,封机混凝土应预留试块,当试块强度等级达到查勘设计要求时,方可卸载。
4.4 基础扩大
4.4.1 当地下水位高于原基础基槽底面时,应先进行排水处理,基槽应无积水;并应进行地面排水。
4.4.2 开挖加宽基槽的深度,不得超过原基础底面,不得扰动槽底土质。当场地狭小或相邻建筑物基础较浅时,应先打入挡土桩或板桩后,方可开挖基槽。
4.4.3 原基础与新基础的连接界面必须凿毛粗糙,清洗干净,涂刷界面剂,新旧基础应结合牢固。
4.4.4 当采用砖墙增加扶壁柱扩大基础施工时,应符合下列规定:
1 扩大基础的垫层宜与原基础的垫层底面齐平,对加宽部分,应铺设厚度和材料均与原基础垫层相同的夯实垫层。
2 砖墙加设混凝土扶壁柱,新旧基础的交界面应凿毛,清理干净,放置钢筋,连接牢固。
3 砖墙加设砖扶壁柱时,应分层用整丁砖与原砖基础剔槽拉结。
4.4.5 当采用钢筋混凝土扩大砖条形基础施工时,应符合下列规定:
1 基础底部垫层,应按本标准第4.4.4条第1款进行处理。
2 穿插连接钢筋位置应准确,并应按标记钻孔,钢筋敷入后应采用水泥砂浆填塞密实。
3 基础钢筋与连接筋绑扎牢固后,应支设模板,并应经检验合格后,方可浇筑混凝土。4.4.6 当采用穿墙挑梁加固条形基础施工时,应符合下列规定:
1 加固基础的垫层,应按本标准第4.4.4条第1款进行处理。
2 挑梁穿墙洞口的位置和尺寸应按查勘设计要求,在基础墙上定位弹线标记,经复核无误后方可剔凿。
3 挑梁和条形基础绑扎钢筋、支设模板,应经检验合格后,方可浇筑混凝土,基础墙洞口应采用混凝土填塞密实。
4 基槽回填土和恢复地坪应在混凝土达到设计强度后方可进行。
4.5 房屋纠偏
4.5.1 房屋纠偏前,应设置变形监测系统。沉降监测点间距宜为4m~6m,纵向每边不应少于4点,横向每边不应少于2点;建筑角点部位应设置倾斜观测点。对上部结构整体性较差的建筑,应适当增加监测点位及监测频率。
4.5.2 纠偏施工过程中,应确保上部结构的整体性,当发现房屋有异常情况时,应暂停施工,立即采取可靠的技术处理措施。
4.5.3 迫降纠偏时,迫降的沉降速率应根据建筑物的结构类型和刚度确定。沉降速率宜控制在3mm/d~5mm/d,房屋顶端水平位移回倾速率应根据房屋高度及回倾速率确定,纠偏开始及接近迫降量时应选择低值。当迫降接近终止时,应预留一定的沉降量。
4.5.4 当采用掏土纠偏施工时,应符合下列规定:
1 掏土应分次向进深进行,第一次掏挖进深宜为1.0m,后续进深应根据实测沉降速率确定。
2 掏土孔应分单双两组编号,宜分段、间隔、对称、同步进行掏土。各次掏土的位置、时间、进尺深度和掏土量应根据沉降观测资料确定,各点的沉降量宜相对均匀,各点的沉降差异应在当天的掏土中进行调整。
3 当纠偏量达到查勘设计要求时,应在掏土孔内低压灌注水泥浆回填密实。注浆应分多次进行,待上一次浆液初凝后再进行后续注浆。
5 砌体结构
5.1 一般规定
5.1.1 砌体结构修缮所用材料应符合下列规定:
1 砌体结构修缮的块材,应采用原砌体同品种块材,且强度等级不应低于原砌体中的块材。利用的原块材应送检合格,符合查勘设计要求后,方可使用。
2 砌体结构修缮的砌筑砂浆,可采用水泥砂浆或混合砂浆,当修缮部位处于潮湿环境时,应采用水泥砂浆。修缮采用砂浆的强度等级应比原砌体中砌筑砂浆设计强度等级提高一级,且强度等级不得低于M5。
5.1.2 修缮施工前,应核查砌体的垂直度和标高;应检查关联结构构件,必要时应进行临时支撑;对与修缮砌体相关联的管道、设备应进行必要的处理;对有保留价值的饰面,应妥善保管。
5.1.3 砌体的拆砌、掏砌、剔砌、防潮层(带)修缮及新旧砌体接槎,均应随时检查砂浆饱满度、表面平整度、垂直度和灰缝宽度,并应及时校正。
5.1.4 剔砌、掏砌、防潮层(带)修缮的新砌体最上一皮砖与原砌体相接的水平灰缝,应临时用楔撑开。应填塞1:3水泥砂浆,并应密实,灰缝厚度宜控制在8mm~2mm。
5.1.5 拆砌的墙体,应按现行国家标准《砌体结构工程施工质量验收规范》GB 50203的规定留置脚手眼。剔砌、掏砌的砌体上不得剔掏或留置脚手眼。
5.1.6 清水墙勾缝前,应清除粘结的灰浆和污物,修补旧墙缝,应剔除灰缝中风化的灰浆,浇水湿润,用灰浆填实后,再勾补缝,新旧墙勾缝相接,应平顺,颜色基本一致,无灰浆毛刺。
5.1.7 毛石墙灰缝,应采用水泥混合砂浆或水泥砂浆勾补。勾缝形式应与原有墙面基本一致,并应保持原有砌石组合的自然缝。
5.1.8 砌体修缮工程冬期施工,应符合现行国家标准《砌体结构工程施工规范》GB 50924的规定。
5.2 砖石墙拆砌
5.2.1 拆除砖石墙体,应由上向下逐层进行,随拆随清,分类堆放整齐,严禁整面墙体推、拉拆除。
5.2.2 砖墙拆砌,应符合下列规定:
1 拆砌部分墙体,应留直槎,接缝设在墙面上;拆砌整面墙体应留大直槎,接缝应设在拐向相邻墙体不小于500mm处;拆砌前后檐墙时,应在相连的内墙上留设中直槎;拆砌内墙时,应在与外墙相连处的内墙上,留设中直槎。在原墙上留置的砖槎,应顺直牢固,砖不得松动。
2 拆砌整面墙体,应抄平设置皮数杆,根据砖的规格和原墙留槎,确定水平灰缝的厚度。
3 接槎砌筑前,应把原墙留槎清理干净,浇水湿润,将松动的砖剔砌整齐。
4 墙按槎,应砂浆饱满、平顺、垂直、大直槎,应进退层数一致;设立砖时,上下应垂直顺线,阴阳角应成90°八字相接,灰缝应均匀。墙两端的大直槎,应对称一致。
5.2.3 毛石墙拆砌,应符合下列规定:
1 拆砌部分墙体,按缝可设在墙面上,宜沿裂缝留置斜槎或剔留直槎。拆砌整面墙,接缝设在拐向相邻墙上,宜沿裂缝留斜槎。当转角处为砖砌体时,宜一并拆砌。
2 接槎砌筑前,应铲除灰浆泥垢及已风化开裂质地松散的毛石,清理干净,浇水冲净;新砌的毛石墙应符合现行国家标准《砌体结构工程施工规范》GB 50924的规定。
3 新旧毛石墙接槎砌筑时,应留大直槎,其毛石伸入砖墙槎内不应小于120mm,接槎砂浆应饱满、平顺、垂直。
5.3 砖墙剔砌
5.3.1 砖墙剔砌可用于不小于一砖半厚的实心砖墙,剔换厚度不得超过半砖厚。
5.3.2 剔砌局部清水墙用砖的尺寸、色泽,宜与原墙用砖一致。剔砌用砂浆应符合查勘设计要求。
5.3.3 剔砌前,应在墙面上画出剔砌范围、作业顺序和施工缝的位置。当剔砌整面墙时,应设置皮数杆。
5.3.4 应按分段范围剔拆碱蚀、风化砖,应随剔拆随留槎,随清理干净,浇水湿润;剔砌时应在墙面上挂立线、拉水平线,按原墙组砌形式砌筑,每隔4皮~5皮砖用整丁砖与旧墙剔槽拉结,其间距不应大于500mm;新剔砌的砖墙与旧墙连接的竖缝,应采用砂浆填实,剔砌墙体砂浆应饱满,新旧结合应牢固,层数一致,墙面平整,灰缝交圈。
5.3.5 分段剔拆时,宜留直槎,接缝应平顺,灰缝砂浆饱满严实。
5.3.6 剔砌墙体至最上一皮砖时,应坐浆推灰就位,内侧竖缝挤实。剔砌墙与旧墙相接水平灰缝,应按本标准第5.1.4条规定填塞密实。
5.4 砖墙掏砌
5.4.1 砖墙掏砌,应编制修缮施工方案,在保证原有房屋结构和修缮施工安全的条件下,可选用有支撑或无支撑掏砌修缮施工。
5.4.2 掏砌施工前,应在墙面上画出分段位置、编号及掏砌的顺序。掏砌时,应采用分段、间隔、间歇作业方法。无支撑掏砌段的作业宽度,应按查勘设计要求施工。
5.4.3 掏砌前,应抄平设置皮数杆,先掏砌墙的大角,挂立线,分段拉水平线,控制灰缝厚度,墙面平整度、垂直度。掏拆时,应按本标准第5.2.2条第1款规定留设接缝和槎子。
5.4.4 砌筑时,应按皮数杆砌筑,各砌筑段宜留直槎,每日掏拆高度,应在当天砌完。砌筑砂浆强度等级应符合查勘设计要求。
5.4.5 掏砌一个楼层时,宜分几次掏砌到顶,间歇作业的水平施工缝应支撑牢固。
5.4.6 分段掏砌的墙体按槎,应清理干净、浇水湿润,接槎砂浆应饱满、平顺,灰缝应一致。
5.4.7 掏砌墙至最上一皮砖的上缝应符合下列规定:
1 对一砖墙,应按本标准第5.1.4条规定填塞密实。
2 对一砖半以上墙,应先把中间砖上缝填塞密实后,再砌外皮,上缝应按本标准第5.1.4条规定填塞密实。
5.5 砖墙掏拆洞口
5.5.1 双过梁法掏拆门窗洞口施工,应符合下列规定:
1 掏拆前,应在墙的两面弹放过梁及门窗洞口的位置线,施工时,应先由一侧剔拆过梁洞口,深度应为墙厚的1/2。过梁支座处应清理干净,浇水湿润。就位的过梁,标高应符合设计要求,上缝应采用1:3水泥砂浆填塞密实。应按同法安装另一侧过梁,过梁下洞口的砌体,应由上而下逐层掏拆规整。
2 门窗框安装应牢固、垂直、方正,周边的砖墙槎应采用水泥砂浆填抹规整牢固。当采用清水砖墙时,尚应把门窗框两侧的墙槎抹平。
5.5.2 掏拆大洞口或整面墙施工应编制施工方案,可采用下列修缮方法施工:
1 当上部为钢筋混凝土楼板时,宜采用短柱法掏拆施工。
2 当上部为木楼板时,宜采用托梁法掏拆施工。
5.5.3 短柱法掏拆施工,应符合下列规定:
1 掏拆施工前,应在墙的两面弹线,标明新加结构构件位置。掏拆施工时,应按基础、壁柱、梁,再掏拆洞口的顺序进行。多层房屋掏拆施工,应从上层开始逐层加作壁柱和梁。当上一层新加壁柱或梁的混凝土不低于设计强度等级50%时,方可掏加下层的壁柱或梁。掏拆洞口砌体应从上向下逐层进行。
2 掏拆的壁柱及短柱洞口,应方正顺线,壁柱洞口的墙槎及短柱洞口的底部,应采用水泥砂浆抹平。
3 壁柱的支模位置和尺寸应准确,竖向应垂直;当为多层楼时,尚应上下层对应顺直。
4 金属短柱应垂直支撑在墙的中心线上,顶紧支牢上部结构,经检查符合要求后,方可掏通洞口间的砌体。
5 梁底模(砖墙上平)轴线,应对准上部墙体的轴线,砖墙的上平可采用水泥砂浆找平。
6 浇筑混凝土宜采用机械振捣,先浇筑壁柱,后浇筑梁,梁的上部与楼板接触的缝隙,应填塞密实。
5.5.4 托梁法施工,应符合下列规定:
1 掏砌施工前,应在墙的两面弹线标明新加结构构件位置。掏剔托底模标高应水平一致,穿墙托梁的钢筋应压在承重梁的主筋上。
2 上下层壁柱的模板应上下对应、顺线垂直。
3 浇筑混凝土宜采用机械振捣,应按先壁柱、托梁,后承重梁的顺序进行,承重梁应从上部向下两侧同步浇筑,承重梁的混凝土浇筑高度应大于木搁栅(木龙骨)底皮10mm。
5.5.5 当新加的结构混凝土达到设计强度等级后,方可掏拆梁下的砖砌体。
5.6 砖墙防潮层(带)修缮
5.6.1 掏换修缮防潮层(带),应符合下列规定:
1 掏换防潮层(带)应编制施工方案,在保证原有房屋结构和修缮施工安全的条件下,可采用无支撑掏换防潮层(带)。
2 掏换防潮层(带)应采用分段、间隔或间歇的作业方法。
3 新掏换的防潮层(带)宜设在与室内地面同一标高处,掏换段的作业长度应符合查勘设计要求,掏拆高度宜为3皮~5皮砖。
4 掏拆施工段洞口应连续作业,随掏拆随清理干净,应浇水湿润。
5 换防潮层(带)时,应分段拉水平线,预制混凝土条板防潮层(带)应坐浆饱满,接口应隔潮;防水卷材防潮层(带)的接口应粘结严密,砌至最后一皮砖的上缝应按本标准第5.4.7条规定填塞密实。也可采用铺设防水卷材,分段浇筑混凝土的方法进行。
6 新掏换的防潮层(带)应平直顺线。
5.6.2 化学注射修缮防潮层(带),应符合下列规定:
1 施工前,应调查墙体的砌筑和防潮层(带)的损坏情况,编制施工方案,注射的防水材料应在墙体中能形成连续的防潮层(带),宜采用硅烷或硅氧烷等有机硅材料。
2 当采用液状防水剂时,距地面高度宜为300mm~500mm,沿墙面宜每隔100mm~200mm距离钻斜孔,孔径宜为10mm~30mm,钻孔角度宜为25°~30°,应外高内低,且至少穿透一层水平灰缝。孔的最低点距地面应大于100mm,且不应穿透墙体。当砖墙厚度大于480mm时,应在墙的两侧进行打孔。将液状防水剂注入孔内,应注射2次,间隔时间不宜少于24h。
3 当采用膏状防水剂时,宜设置距地面300mm~500mm的水平灰缝,宜沿墙面每隔100mm~200mm距离钻孔,孔径宜为10mm~12mm,钻孔至对墙面距离宜为20mm~50mm,不应穿透墙体。将膏状防水剂注入孔内,应注射2次,间隔时间不宜少于24h。
4 应采用施工前后墙体检测含水率变化程度或红外热像法确定防潮层修缮的效果。
5.7 砌体裂缝修缮
5.7.1 对宽度大于0.5mm、非承重结构的砌体裂缝可采用填补法。填补砌体裂缝时,应符合下列规定:
1 修补裂缝前,先铲除裂缝两侧的抹灰层,宽度应大于100mm,然后沿裂缝凿U形槽,槽的深度宜大于15mm,宽度宜大于20mm。
2 在填补封闭裂缝前,应先将槽内的表面浮灰清除干净。
3 对静态的裂缝,可采用硬性的填补材料;对动态的裂缝,可采用弹性的填补材料。
4 当采用无机材料填补裂缝时,应先将槽内砌体充分湿润。当采用有机材料填补裂缝,应先将槽内涂刷一层树脂基液。
5 填补封闭材料应充满填实,修复平整,恢复装饰层。
5.7.2 压力灌浆修补砌体裂缝时,应符合下列规定:
1 修缮施工前,应检查砌体裂缝的走向、宽度、深度,并应编制施工方案。
2 宜选用无收缩水泥基或环氧基灌浆料,并应根据产品说明书规定的初凝时间及工程进度,确定每次配浆量。灌浆料安全性能指标应符合现行国家标准《砌体结构加固设计规范》GB 50702的规定。
3 压力灌浆补强应按标定灌浆孔眼、钻孔、做灌浆嘴、封堵裂缝、灌水、压力灌浆的工艺顺序进行。
4 灌浆孔距,宜按下列间距确定:
1)当裂缝宽度为2mm以下时,孔距宜为200mm~300mm;
2)当裂缝宽度为2mm~5mm时,孔距宜为300mm~400mm;
3)当裂缝宽度为5mm~15mm时,孔距宜为400mm~500mm。
5 灌浆前,应铲除沿砌体裂缝两侧100mm宽的抹灰层或污物,吹净孔眼及裂缝内的碎屑灰粉,在砌体通长裂缝的顶端设排气孔眼。将裂缝两侧表面清理干净,浇水湿润,刷水泥浆一道,然后用水泥砂浆封闭,封缝宽度宜为200mm。
6 灌浆应按自下而上,边灌边用塞子堵住已灌浆的嘴,直至最上部排气孔眼溢浆为止,压力宜控制在0.20MPa~0.25MPa。裂缝中的浆液应饱满密实,粘结应牢固。混水墙面应补抹平整;清水墙面应对灰缝进行处理,并应恢复原墙面面貌。
5.8 砖砌体修缮补强
5.8.1 外包钢筋混凝土或抹钢筋网水泥浆补强砖柱,应符合下列规定:
1 施工前,应拆除砖柱上的管线和装饰层,检查柱根。应剔砌损坏的砖,除净裂缝内的粉尘,并应浇水湿润。
2 外包钢筋混凝土补强,支模前应在柱根处找平,弹放柱的中心线及定位线,模板应垂直顺线支设牢固。
3 外包混凝土宜采用机械振捣,上部与楼板接缝应采用干硬性混凝土填塞严实。也可采用聚合物混凝土、微膨胀混凝土等,强度等级应符合查勘设计要求。
4 抹钢筋网水泥砂浆补强,砂浆强度等级应符合设计要求。抹水泥砂浆应分层作业,每层厚度宜为10mm~15mm,总厚度应符合查勘设计要求。当前层水泥砂浆初凝后再抹次层。
5.8.2 外包钢筋混凝土或抹钢筋网水泥砂浆补强砖墙,应符合下列规定:
1 施工前,应拆除墙体上的管线和装饰层,剔除损坏的砌体,将裂缝凿成V形槽,墙面耕缝,清理干净,充分浇水湿润。
2 混凝土或水泥砂浆强度等级应符合查勘设计要求。
3 穿墙和过楼板的钢筋孔洞宜采用机钻成孔。穿墙锚固钢筋应与墙固定牢靠。钢筋绑扎应横平竖直,并应与锚固筋绑牢。
4 基层处理、管线和顶埋件应经检验合格后,方可支模浇筑混凝土或抹面。管线不得埋在修缮补强层内或施工后再剔凿。混凝土应分段振捣和浇筑。抹水泥砂浆应分层作业,每层厚度宜为10mm~15mm。
5.8.3 外包型钢补强砖柱,应符合下列规定:
1 砖柱表面应进行清理打磨平整,应对风化裂缝等进行修整处理,砖柱四个棱角应打磨成圆角。
2 砖柱外包型钢补强宜采用四肢为角钢和钢缀板组合成的钢构架加固方式。
3 钢构架宜在现场根据砖柱的尺寸制作,并应符合查勘设计的要求。
4 钢构架安装前,应在柱根处找平,弹放柱的中心线及定位线;安装时,应采用专用的夹具、钢楔、垫片等箍牢顶紧。每隔一定距离在钢构架和砖柱之间应粘贴小垫片,钢构架内侧和砖柱之间应留有4mm~5mm的缝隙。
5 钢构架安装时,各钢构件之间应采用焊接,焊缝应平直均匀、无虚焊漏焊。
6 钢构架的角钢、缀板和砖柱表面之间,应采用水泥砂浆填塞或采用灌浆料进行压注。
7 钢构架上下端应有可靠的连接和锚固,下端应锚固在基础内,上端应与梁板有效连接。
8 当采用钢构架补强多个楼层砖柱时,应在楼面结构适当部位开洞,角钢应穿过洞口,各层的钢构架应连成整体。
9 钢构架表面宜采用抹钢丝网水泥砂浆作为防护层,或对钢构架进行防锈处理。
5.8.4 外加预应力撑杆补强砖柱,应符合下列规定:
1 砖柱表面应进行清理打磨平整,对风化裂缝等进行修整处理,砖柱四个棱角应打磨成圆角。
2 当砖柱下基础外观质量较差时,应对砖柱根部基础部分进行处理,可局部增设钢筋混凝土围套作为外加预应力撑杆支承平台。
3 预应力撑杆应在现场根据砖柱的尺寸制作,并应符合查勘设计的要求。
4 两侧撑杆应各由两根角钢组成,并采用钢缀板焊接成槽形截面组合肢。
5 两侧撑杆上下端应各焊接一块传力的钢板,撑杆和上下构件接触面应设置承压钢板,并应采用结构胶和化学锚栓固定。
6 两侧撑杆中点处,应将角钢侧立翼板切割出三角形缺口,将两侧撑杆相向弯折,然后在弯折角钢另一完好翼板部位焊接补强钢板,应在适当位置钻孔,两侧应采用长杆螺栓。
7 当两侧撑杆施加应力时,应同时收紧安装在补强钢板两侧的螺杆,直至撑杆达到设计要求。张拉应力结束后,应采用钢缀板焊接两侧撑杆,形成钢构架。撑杆和砖柱间的空隙,应采用水泥砂浆填塞密实,再做防护层或对钢构件进行防锈处理。
5.0.5 钢丝绳网-聚合物改性水泥砂浆面层补强砖砌体,应符合下列规定:
1 修缮补强施工前,应拆除墙体上的管线和装饰层,剔除勾缝砂浆和已松动粉化的砂浆层,必要时应对残缺损坏的砖砌体进行置换。
2 安装网片时,应先将网片一端锚固在砖墙端部,网片另一端用张拉夹持器夹紧,并应安装张拉设备,将网片张拉均匀、绷紧。两个方向张拉完毕,检查网片位置和钢丝绳间距后,用锚栓和绳卡将网片固定在砖墙上,然后卸去张拉设备,控制网片保护层厚度不应小于10mm。
3 在砖墙表面应均匀涂刷界面剂,界面剂应采用聚合物砂浆配套供应的结构界面胶。
4 聚合物砂浆的强度等级应符合查勘设计要求。
5 应将聚合物砂浆各组分原料按顺序放入砂浆搅拌机内充分搅拌,配好的聚合物砂浆应在30min用完。
6 聚合物砂浆施工可采用机械喷射法或人工抹压法,喷射法应分3道~4道完成,人工抹压法宜分成3层擀压密实。
7 聚合物砂浆面层可采用普通抹灰做防护层。
5.9 增设圈梁、构造柱、扶壁柱
5.9.1 外加混凝土结构固梁,应符合下列规定:
1 应按查勘设计在墙面上弹线,标出外加圈梁及增设的相关构件和连接件的位置。
2 外加固梁范围内,墙体的风化层、抹灰饰面层及油污等,应清除干净。
3 当圈梁遇水落管等管线时,应将管线局部拆移,不得将管线埋入圈梁内。
4 当圈梁与原有钢筋混凝土梁端部连接时,应与原梁钢筋焊接。圈梁沿钢筋混凝土挑檐板、雨罩或阳台下部设置时,如查勘设计无明确规定,应在构件上每隔1m凿150mm×150mm的洞口,并不得损伤原构件的钢筋,洞口内应设竖向吊筋与圈梁钢筋连接;圈梁沿钢筋混凝土挑檐板、雨篷上部设置时,如查勘设计无明确规定,应在构件上每隔1m植筋,并应与圈梁钢筋连接。
5 浇筑混凝土前,模板内的杂物应清理干净。墙体与模板应浇水湿润。
6 混凝土应连续浇筑,当需留施工缝时,宜留在距圈梁两支点的1/3处。施工缝应留直槎,二次浇筑混凝土前,应处理好施工缝接槎。当浇筑圈梁拐角、销键及圈梁与构造柱相交处的混凝土时,应加密振点、振捣密实。
7 拆模时,应及时拆除临时设置的连接件,墙面上孔眼应采用水泥砂浆堵严抹压平整。
8 圈梁的顶面应抹水泥砂浆泛水,底面应做滴水线槽。
5.9.2 外加型钢圈梁,应符合下列规定:
1 安装前,型钢应调直除锈并进行防锈处理。
2 型钢圈梁上的孔眼应根据查勘设计和墙面上各连接件(螺栓等)的实际间距设置。型钢与墙体应连接牢固,其间的缝隙应采用干硬性水泥砂浆填塞密实平整。
5.9.3 增设钢拉杆,应符合下列规定:
1 钢拉杆使用前应调直除锈,花篮螺栓的直径应与钢拉杆直径配套使用。
2 应标出钢拉杆穿墙孔眼位置,孔眼应采用机械钻孔,每根钢拉杆应在同一水平线上,并应平行于相邻墙面。
3 当钢拉杆长度在6m及以内时,不应有接头(花篮螺栓除外)。当钢拉杆长度超过6m时,可有一个接头,当钢拉杆长度超过12m时,可有2个接头,接头宜采用帮条焊接。
4 钢拉杆应先试装,各道墙的孔眼应在同一直线上,拉杆应平直,如试装不符合要求,应适当扩孔或调整穿墙孔的位置后,重新安装。
5 钢拉杆端部应埋入外加混凝土扶壁柱、构造柱或圈梁内,当混凝土强度达到设计强度等级时,方可旋紧花篮螺栓。
6 安装后,应复查全部钢拉杆,花篮螺栓或端部螺母应旋紧。花篮螺栓丝扣应涂刷防锈漆。
5.9.4 钢筋网水泥复合砂浆砌体组合圈梁、构造柱,应符合下列规定:
1 施工前,应拆除墙体上的管线和装饰层,剔除损坏的砌体,墙面耕缝应清理干净,并应浇水湿润。
2 水泥复合砂浆性能指标应符合现行国家标准《砌体结构加固设计规范》GB 50702的规定,并应满足查勘设计要求。
3 穿墙的钢筋孔洞,宜采用机钻成孔。穿墙钢筋位置应在丁砖上(单面组合圈梁)或丁砖缝上(双面组合圈梁),应与墙固定牢靠。钢筋绑扎应横平竖直,并应与锚固筋绑牢。对承重墙,不宜采用单面组合圈梁、构造柱。
4 水泥复合砂浆抹面层厚度宜为30mm~45mm,应全部罩抹钢筋网,并应有适当厚度的保护层。
5.9.5 外加混凝土构造柱,应符合下列规定:
1 应按查勘设计在墙面上弹线,标出外加构造柱及增设的相关构件和连接件的位置。
2 外加构造柱范围内,墙体的酥碱层、抹灰饰面层及油污等应清除干净。
3 构造柱与墙体圈梁或拉杆应连接成整体,当与圈梁无法连接时,应采取措施与现浇混凝土楼屋面进行可靠连接,连接方式可采用植筋。
4 浇筑混凝土前,模板内的杂物应清理干净。墙体与模板应浇水湿润。
5 混凝土应连续浇筑,当需留施工缝时,宜留在楼层和圈梁交界处。施工缝应留直槎,二次浇筑混凝土前,应处理好施工缝接槎。
6 拆模时,应及时拆除临时设置的连接件,墙面上孔眼应采用水泥砂浆堵严、抹压平整。
5.9.6 扶壁柱的竖向钢筋,每层内应连续,上下层柱钢筋的搭接位置应在每层圈梁顶面以上部位。
5.9.7 当扶壁柱穿过阳台、雨篷或挑檐板时,剔凿洞口尺寸应与扶壁柱断面相同,剔凿洞口时,不得损伤需保留构件的钢筋。混凝土应分层连续浇筑,每层浇筑高度不应大于500mm。
6 混凝土结构
6.1 一般规定
6.1.1 填塞缝隙用的混凝土材料宜具有微膨胀性。
6.1.2 修缮施工中设置的底模、侧模和各种顶撑拆除时的混凝土强度应符合查勘设计要求;当无具体要求时,模板拆除应符合现行国家标准《混凝土结构工程施工质量验收规范》GB 50204的要求。
6.1.3 剔凿作业前,应准确核查剔凿作业对结构的影响,应查明、避开或保护好预埋的管线与钢筋。
6.1.4 对微膨胀混凝土等特殊混凝土,或在混凝土中掺用外加剂时,应在施工前进行试配,并应检验其强度。
6.1.5 当使用化学浆液时,应在施工前进行浆液组成试配,达到查勘设计及施工要求后,方可应用。
6.1.6 混凝土宜采用机械振捣;当采用人工浇筑时,浇筑应振捣密实。
6.2 新旧混凝土界面
6.2.1 新旧混凝土结合面的处理,应符合下列规定:
1 旧混凝土构件表面的抹灰、饰面层、油污及灰尘应清刷干净。
2 旧混凝土构件表面的疏松起壳,应剔凿至露出坚实新槎。
3 新旧混凝土连接面边缘处,原混凝土应剔成直角。旧混凝土结合面,应进行凿毛处理,形成点深2mm~3mm的均匀分布麻点。
6.2.2 旧混凝土构件应提前1d充分浇水,保持湿润,直至浇筑新混凝土为止。冬期施工应符合现行国家标准《混凝土结构工程施工规范》GB 50666的规定。
6.2.3 当在原混凝土结合面使用界面剂时,应按界面剂的有关技术要求施工,并应均匀涂刷于结合面处。
6.2.4 混凝土构件局部缺陷修补,其原混凝土的结合面,应先剔除损坏松散部分,作凿毛处理,用压力水冲洗干净,浇水浸湿不得少于12h;浮水清除干燥后,表面应涂刷界面剂;浇筑混凝土应捣固密实,当缺陷较深时,应分层浇筑。
6.2.5 新旧混凝土结合处应覆盖浇水养护不少于14d,养护温度应保持在5℃以上,不得早期脱水或过早经受振动。
6.2.6 新旧钢筋焊接前,应按查勘设计剔凿出原有结构构件的钢筋,清除原钢筋上的污物、锈蚀及其周围的松散混凝土等。
6.2.7 外露钢筋与周围混凝土的间隙净空,应比修补混凝土的骨料最大粒径大6mm。
6.2.8 当新增钢筋与原有受力钢筋焊接时,对搭接处的原钢筋应去除浮锈。当新旧钢筋通过连接短筋焊接时,应采用电弧焊。
6.2.9 焊接受力钢筋前,应采取相应卸荷措施或临时支撑,逐根、分段、间隔进行焊接。焊接应牢靠,并应对周围混凝土进行保护。焊接后,应及时清除焊渣及受焊接影响损坏的混凝土。
6.3 混凝土板
6.3.1 浇筑混凝土叠合层前,应按查勘设计要求检查新加钢筋的间距、直径、保护层和预埋件等,混凝土浇筑过程中钢筋位置应准确。
6.3.2 新浇筑混凝土与新加受力钢筋伸入支座构造应符合查勘设计要求。当支座为砖墙时,应间隔剔出洞槽,支座处的砖屑粉尘应清除干净。浇筑混凝土前,支座处的砖砌体应浇水湿润。支座处应与所连接部分的混凝土同时浇筑,振捣应密实。
6.3.3 板下进行整体式补强时,应符合下列规定:
1 原钢筋与连接钢筋焊接前,应按连接钢筋位置凿掉原有钢筋保护层,长度不应小于9倍钢筋直径,宽度不应小于4倍钢筋直径。
2 钢筋焊接应经检验合格后,方可进行下道工序。
3 当采用喷射混凝土施工时,喷射应均匀牢固。
4 在板面钻孔浇筑时,其孔间距不宜大于500mm,支设模板应平整、严实、稳定、牢固;宜采用流动性较大的混凝土或水泥基灌浆料,并应振捣密实。
6.3.4 当板上进行整体式补强时,宜采用流动性较低的混凝土或水泥基灌浆料,振捣密实,拍平出浆,压实抹光。
6.3.5 当采用现浇混凝土、聚合物砂浆补强预制多孔板时,应符合下列规定:
1 剔凿前,多孔板应支顶牢靠。
2 应按多孔板拼缝及沟槽的准确位置剔凿,并应轻剔轻凿,不得剔伤板肋、损坏钢筋。
3 圆孔内及板面应冲洗干净,并应涂刷水泥浆一遍。
4 圆孔内钢筋,应垫起5mm~10mm。
5 应同时在圆孔内和板面浇筑混凝土或聚合物砂浆,振捣应密实。
6.3.6 阳台、雨篷板面加厚增加受力钢筋时,应符合下列规定:
1 应设置临时支撑。
2 剔凿清除板面面层;板根部位的裂缝,应剔凿成V形沟槽,其深度应大于原裂缝的深度。
3 按查勘设计要求新增受力钢筋,位置应准确,焊接绑扎应平直牢固,增补钢筋宜成组布置。
4 浇筑混凝土前,阳台、雨篷和墙洞应浇水浸湿,板面、墙洞处混凝土应浇筑密实。
6.3.7 当阳台、雨篷利用原钢筋重新浇筑混凝土时,应符合下列规定:
1 原阳台、雨篷根部应规整地剔出凹槽,入墙尺寸应符合查勘设计要求。
2 应清除原有钢筋上的粘结物,钢筋应调整顺直、绑焊牢固。
3 支设的模板尺寸和标高应准确。
4 浇筑混凝土应振捣密实,钢筋位置应准确,并应浇水养护。
6.4 混凝土梁
6.4.1 混凝土梁加大截面支模前,应将梁表面和附近顶棚抹灰层铲除;梁棱角应打成直边不小于20mm的八字形,处理干净,按查勘设计要求剔出部分钢筋。
6.4.2 在梁下增厚或围套补强时,应符合下列规定:
1 梁下增厚补强时,应对梁底进行凿毛,且应间隔500mm凿出宽50mm~70mm、深20mm~30mm的沟槽。
2 梁新加钢筋伸入两端支座的长度及支座处梁的截面尺寸应符合查勘设计要求。
3 在梁下增厚补强时,宜采用U形模板,并应在混凝土终凝前拆除侧模,剔除梁两侧多余的混凝土。
4 在梁上的楼板钻孔浇筑混凝土时,其孔距可为500mm,钻孔不得切断原有钢筋。
5 浇筑材料宜为流动性较好的细石混凝土或水泥基灌浆料。
6.4.3 在混凝土梁下用角钢补强时,应符合下列规定:
1 梁表面应按本标准第6.2.1条~第6.2.3条规定处理干净,梁面和角部缺损处,应采用水泥砂浆修补平整,角部成小圆角。
2 角钢与缀板等应调直除锈,与角钢接触的混凝土表面应抹1:2水泥砂浆,角钢与混凝土应贴附严密。
3 螺栓套箍连接时,应在灌注膨胀水泥浆后立即拧紧螺栓,并应将螺帽与垫板焊接。
6.4.4 当采用U形筛对梁斜截面补强时,应符合下列规定:
1 原梁的斜裂缝冲洗干净后,再灌入水泥浆或其他胶粘剂封闭。
2 应划线标定各加固件位置和尺寸。
3 钢垫板应采用专用胶粘剂与梁粘结固定,胶粘剂完全固化后方可拧紧螺栓。
4 楼板穿孔后,应用比原楼板混凝土强度等级高一级的混凝土填塞密实,抹压平整。
6.5 混凝土柱
6.5.1 当采用外包钢筋混凝土围套补强混凝土柱时,应符合下列规定:
1 应按查勘设计沿柱根开挖基槽,拆移原柱和基槽内的管线设施。
2 在原基础钻孔洞内插筋时,插筋周围空隙不应小于4mm,并应采用专用胶粘剂固定,24h内不应对其进行扰动。
3 支设柱围套模板时,应预留进灰口与清扫口。应在柱套竖筋上点焊长度与混凝土厚度相等的短筋,其两端分别顶于原柱面与模板上,每侧模板上下各不得少于2根。
4 柱套混凝土应分层连续浇筑,并应分层振捣密实,不得留施工缝。
1 应铲除柱表面抹灰层,打磨柱角成八字形,清洗界面。当采用湿式外包钢补强时,应浇水湿润,补抹平整;角钢与柱之间应抹1:2水泥砂浆,柱角部抹成小圆角,角钢与柱贴附严密。
2 钢缀板应在角钢夹紧后焊牢,应上下轮流焊接。用螺栓套箍连接时,应将螺母与垫板焊接。
6.5.3 当采用整体置换混凝土法,对含有有害骨料的混凝土柱进行处理时,应符合下列规定:
1 宜采用分部、分段、分区间的施工方法,可将混凝土柱沿截面边中线等分为4块,采用先置换一个对角2块混凝土、再置换另一对角2块混凝土的方式分4期进行置换。
2 施工过程中应加强对相邻结构构件裂缝和变形的监测,并应进行置换构件及支撑结构应力的监测。
3 置换用的混凝土宜采用加固型高强无收缩混凝土,混凝土应具有微膨胀性及较高的流动性。
4 作为承载体系的临时支撑应具有足够的刚度及承载能力,支撑的两端应设置钢垫板,应通过钢垫板与梁底或楼板接触,且钢柱与结构构件间应采用钢楔子楔紧。
5 应合理安排施工工序,减少剔凿时间,尽早完成混凝土的浇筑。
6.6 混凝土构件锈胀处理
6.6.1 钢筋锈胀、混凝土构件露筋修补应符合下列规定:
1 清除钢筋锈胀处松散、离鼓的混凝土,应沿钢筋长度方向剔除至钢筋与混凝土结合牢固处,剔凿时不应损坏钢筋与混凝土的粘结。
2 锈蚀钢筋应除锈去污,涂刷防锈剂,并应进行阻锈处理。当钢筋锈蚀严重时,应钢筋进行电焊补强或更换钢筋。
3 应采用聚合物砂浆对混凝土构件进行局部修补。
6.6.2 对局部混凝土缺陷和钢筋锈蚀的挖补处理,可采用掺加型阻锈剂掺入修补用的混凝土或砂浆中。对密实性差且强度低的混凝土及保护层厚度不足规定值70%的混凝土,应采用喷涂型阻锈剂直接喷涂或涂刷在受损混凝土表面或局部剔凿后的混凝土表面。
6.6.3 阻锈剂的使用环境及要求应符合现行国家标准《混凝土结构加固设计规范》GB 50367的规定。
6.6.4 对钢筋锈胀严重的构件,应由查勘设计单位提出修缮补强方案。
6.7 裂缝修补
6.7.1 压力灌浆修补裂缝,应根据裂缝的部位、性质和大小编制相应的施工方案。
6.7.2 裂缝注胶或灌浆前的处理,应符合下列规定:
1 当裂缝宽度小于或等于0.3mm时,其两侧20mm~30mm范围内的抹灰、松散层及油污等,应清理干净,并保持干燥。
2 当裂缝宽度大于0.3mm时,应将裂缝剔凿成V形沟槽,其宽度与深度应根据裂缝深度及有利于封缝确定。
3 应清除裂缝内碎屑和粉末。
6.7.3 对采用灌浆处理的裂缝,灌浆嘴的埋设应符合下列规定:
1 当裂缝宽度小于或等于1mm时,埋设间距宜为0.4m~0.5m。
2 当裂缝宽度大于1mm时,埋设间距宜为0.5m~1.0m。
3 在一条裂缝上应有灌浆嘴和出浆嘴,灌浆嘴应骑缝粘结固定在预定位置上。
6.7.4 封闭裂缝时应符合下列规定:
1 对不凿槽的裂缝,宜采用厚度约1mm的环氧胶泥封缝或环氧树脂粘贴1层~3层纤维复合材封缝。
2 对V形沟槽裂缝,宜采用水泥砂浆封缝。
3 封缝前应沿裂缝两侧涂刷一层环氧树脂基液,封缝应可靠,应无鼓包、气孔和波纹。
6.7.5 当封缝胶泥或水泥砂浆达到一定强度后,应进行充气试压,发现漏气应及时修补。当注浆嘴中气压达到0.5MPa及以上时,仍有不通气的注浆嘴,则应重新埋设注浆嘴,并应缩短其间距。
6.7.6 灌浆施工应符合下列规定:
1 灌浆前,应检查灌浆机具。
2 灌浆应从裂缝的一端至另一端。灌浆时,应待下一个排气嘴出现浆液时,关闭进浆嘴,依次顺序进行。
3 灌浆时,压力应逐渐升高,达到规定压力后,使压力保持稳定。
4 灌注水泥浆时,第一次压浆初凝后,应进行二次压浆。
5 当上部注浆嘴有浆液流出或吸浆率小于0.05L/min时,可停止灌浆。
6 灌浆结束后,应检查补强效果与质量,发现问题应及时补救,灌浆管道等应及时拆除,冲洗干净。灌注化学浆液时,应采用丙酮等将管道与设备冲洗干净。
6.7.7 当浆液初凝不外溢时,应拆下灌浆嘴,并应及时抹平封口。
7 钢结构
7.1 一般规定
7.1.1 钢结构修缮材料应进行进场复检,并应符合查勘设计和国家现行有关标准的规定。
7.1.2 修缮施工前,应对原有钢结构构件强度和结构稳定性进行复核,应制定修缮施工方案。
7.2 钢构件
7.2.1 修缮施工前,应清除构件表面的污物和锈蚀,露出金属本色。
7.2.2 当结构构件有位移或变形时,应光修复后补强。补强施工时,应先点焊固定装配好全部零配件,再补强结构最薄弱的部位和应力较高的构件。
7.2.3 补强施工时,不得改变构件的截面形心轴位置,焊接不得变形。
7.2.4 补强施工时,应采取卸荷和临时支撑措施,补强结构构件及其连接杆件的应力不应超过容许值。
7.2.5 屋架卸荷或设置临时支撑时,应根据查勘设计和施工方案对屋架进行验算,当个别杆件强度或稳定性不足时,应在卸荷前采取补强措施。
7.2.6 钢构件焊接补强应符合下列规定:
1 补强实腹梁,应先下翼缘后上翼缘。
2 补强屋架结构,应先下弦后上弦。
3 补强腹杆,应先焊两端的节点,后焊中段的间段焊缝。
4 补强檩条,应间隔施焊,不得在杆件横轴方向施焊,若沿两条轴向缝施焊时,应先后错开3mm~7mm。
5 节点板上腹杆的焊缝,应先补焊端部缝;加厚焊缝时,应从原焊缝受力较低的部位开始施焊。
6 补强抗弯强度不足的钢梁,应先下部后上部,从跨中向两边对称进行。
7 当采用钢筋混凝土补强钢柱时。应将部分箍筋末端焊在钢柱上或在箍筋与钢柱之间加焊短筋。
7.3 连接件
7.3.1 焊接连接的补强,不宜采用长度垂直于受力方向的横向焊缝。
7.3.2 当采用增加非横向焊缝长度的方法补强焊缝连接时,焊缝施焊采用的焊条直径不应大于4mm,每焊道的焊脚尺寸不应大于4mm;对长度小于200mm的焊缝增加长度时,首焊道应从原焊缝端点以外至少20mm处开始补焊。
7.3.3 焊接连接补强时,新增焊缝应布置在远离原构件变截面、缺口及加劲肋等应力集中较小的部位;新增焊缝应受力均匀,不宜交叉。
7.3.4 螺栓连接补强时,应清理螺栓孔周边杂质,并应按现行国家标准《钢结构工程施工规范》GB 50755的要求进行施工。
7.3,5 更换铆钉修缮时,应先更换损坏严重的铆钉,更换过程中不应损伤结构件。当铆钉孔出现错孔、变形等情况时,应采取扩孔等方式消除缺陷,宜采用高强螺栓进行补强。
7.3.6 负荷状态下更换铆钉时,应分批进行,每批更换数量不宜大于全部铆钉数量的10%;更换螺栓时应逐个进行。
7.3.7 当采用摩擦型高强度螺拴部分更换受损铆钉时,宜将对称部位的铆钉一并更换。
7.4 防腐及防火
7.4.1 钢构件除锈、防腐,应符合下列规定:
1 应采用钢丝刷、打磨机等方式清除锈蚀、原有老旧油皮、污垢等。
2 宜在6h内涂刷第一遍防锈漆,充分干燥后,再涂刷次层油漆,并不宜超过7d。涂刷面漆前,应打磨光平、干净。
3 当钢构件不能立即涂刷防锈、防腐涂料时,应采取防止构件表面锈蚀措施。对补强修换杆件后不便涂刷的钢构件,应在施工前刷好防锈漆或其他防锈材料。
7.4.2 钢结构构件在修换过程中,损坏的涂层部分以及修换连接处,应重新涂装。
7.4.3 钢构件的防火保护,应符合下列规定:
1 采用喷涂方式进行防火保护施工前,应清除构件表面的浮锈和污物,并应按本标准第7.4.1条的要求进行防腐处理。
2 当采用板材包覆保护施工时,应采用胶粘剂等固定。当构件为开口形截面时,应在板的接缝部位插入隔板;当板的层数为2层或2层以上时,各层板缝应错开一定距离。
3 当采用预制定型套包覆时,套的纵向接缝应采用胶粘剂和固定条固定牢靠。
4 当采用浇筑混凝土保护时,混凝土内宜采用细箍筋或钢丝网进行加固,混凝土表面应喷涂防火涂料。
8 木结构
8.1 一般规定
8.1.1 木结构修缮施工前,应根据查勘设计复查修缮部位和相关联的结构构件,并应制定修缮施工方案。
8.1.2 承重木构件修缮前,可加设临时支撑或卸除上部荷载;恢复到原位或查勘设计规定的位置,并处理构件的损坏部位。临时支撑应符合下列规定:
1 临时支撑应使用最少的杆件,并应防止各个方向的可能移动,选择的临时支撑点应恰当。
2 竖直方向应采用木楔或千斤顶顶紧,横向应采用搭头拖牢。
3 临时支撑向上抬起的高度应与屋架(木梁)的挠度相应。
4 临时支撑后,应预留便于修缮施工的操作空间。
8.1.3 应按查勘设计和构件实际尺寸制作样板,逐件编号,应按样板制作修缮构件。
8.1.4 木夹板修缮补强木构件,采用的材料及螺栓直径、数量、位置等,应符合查勘设计要求;构件拼接钻孔时,应定位临时固定,一次钻通孔眼,各构件孔位应对应一致。受剪螺栓孔的直径不应大于螺栓直径1mm。系紧螺栓孔的直径不应大于螺栓直径2mm。
8.1.5 圆钢拉杆接头应采用双绑条焊接,绑条圆钢直径应大于或等于拉杆直径的0.75倍,绑条在接头一侧的长度应大于或等于拉杆直径的5倍。
8.1.6 木结构修缮、牮正施工过程中,应做好施工记录,修缮的构件应经检验符合查勘设计要求后,方可隐蔽或交付使用。
8.1.7 施工中发现白蚁等虫害,应及时委托相关单位防治处理。
8.1.8 木结构修缮工程的防护和防火应符合现行国家标准《木结构工程施工规范》GB/T 50772的规定。
8.2 木柱
8.2.1 木柱根损坏接柱或增设柱墩前,柱上的梁架应临时支撑牢固,嵌入墙内的木柱及相连杆件和墙体,应局部拆开放松,将梁、架复位至查勘设计要求的标高。经检查基础合格后,方可进行接柱或接柱墩施工。
8.2.2 砖砌或混凝土接墩柱时,锯截的木柱截面应垂直柱轴线。柱与柱墩相接处应进行防腐和隔潮处理。当柱墩混凝土达到设计强度等级50%及以上时,方可拆除临时支撑,柱和柱墩的连接面应平整,结合应严密,锚固钢件的规格、尺寸、位置、预埋深度等应符合查勘设计要求,钢件与木柱连接的孔眼应顺孔钻通,螺栓应拧紧固定。
8.2.3 木材接木柱,应符合下列规定:
1 平缝对接时,锯截的承压面应垂直柱轴线,结合应平整严实,夹板与柱应结合紧密,固定应牢靠。
2 搭接榫连接时,螺栓系紧固定后,上下承压面应贴附严密,竖向的结合应在柱轴线位置上。
8.3 木梁
8.3.1 木夹板修缮补强梁,应符合下列规定:
1 施工前,应将梁临时支撑或卸除上部荷载,当多楼层梁补强时,各支撑点上下对应。
2 施工前,应截平梁的损坏部位,修换木料的端头与梁截面接缝应严密平顺,螺栓拧紧固定后,夹板与梁接触应平整、严密。
3 当补强圆截面梁时,夹板与梁新加工平面应紧密结合。
8.3.2 下撑式钢拉杆修缮补强梁,应符合下列规定:
1 根据查勘设计要求和构件的实际尺寸,应复核钢件、拉杆、撑杆样板,无误后方可下料制作。
2 安装时,应将部件临时支撑固定。当试装拉杆达到查勘设计要求后,固定撑杆,张紧拉杆。
3 钢拉杆应张紧拉直,固定牢靠,撑杆和钢件与梁的接触面应贴附严密。新加的拉杆下撑系统,应在梁轴线的同一垂直平面内。
8.3.3 扁钢箍修缮梁纵向劈裂,应先按梁的实测截面放样制作扁倒箍。安装时,应逐个拧紧固定螺栓,各扁钢箍不得松动。
8.3.4 斜撑式双夹板补强梁应根据查勘设计要求和实测尺寸放样料。安装时,夹板应对称平行放置,其角度和螺栓位置应正确,夹板两端与梁柱结合应平整严实。
8.3.5 用托木补强梁柱节点,节点铆榫应复位,打紧木楔应固定牢靠,施工时,应一次钻通托木与柱的孔眼,螺栓固定后,托木与梁柱接触应严密。
8.3.6 木梁下挠过大,增加牵杠的方法修缮补强时,应将木梁下挠部分用千斤顶顶升到原来水平位置,在跨中底部加一根牵杆,增加木梁的刚度。
8.3.7 木梁材质较差,受拉区有节疤而产生断裂时,可采用增加木梁、更换木梁、绑夹木梁的方法修缮。
8.4 木屋架
8.4.1 木屋架修缮宜卸除荷载施工,并应有可靠的安全技术措施。
8.4.2 木灾板修缮补强屋架端节点,应符合下列规定:
1 施工前,应复查节点处的各构件的损坏情况。应按本标准第8.1.2条规定处理后,根据查勘设计套做样板下料制备。
2 应按先补强下弦、后补强上弦顺序施工,并应符合本标准第8.1.4条规定。
3 槽齿的连接,位置应准确,承压面应贴附严密,固定应牢靠。
4 屋架垫木应对中屋架轴线,并应进行防腐处理。
5 屋架与墙(柱)支座的锚固件应锚固牢靠。
8.4.3 木夹板串杆修缮补强屋架端节点,应符合下列规定:
1 施工时,应按固定木夹板、添配料、固定钢件,后串拉杆顺序进行。上弦杆端头与添配的木料承压面,应贴附严密,两侧与夹板结合紧密,上弦伸入下弦木夹板内的螺栓,应位置正确,固定应牢靠。钢件与木件的承压面结合紧密,位置应准确,串杆应顺直。安装应对称平行,固定应牢靠。
2 圆钢串杆的螺栓应采用双螺帽,伸出螺帽的长度不应小于螺栓直径的0.8倍。
8.4.4 钢拉杆修缮补强屋架木竖杆,应符合下列规定:
1 补强中间的木竖杆前,应拆除局部屋面,临时支撑脊檩。
2 钢件加工规整,与屋架连接紧密,钢拉杆顺直,固定牢靠。
3 应采用钢拉杆补强节间木竖杆,不宜拆除屋面进行施工。
8.4.5 立帖式构架牮正,应符合下列规定:
1 牮正前,应先卸除屋面及楼层荷载,拆开与木构架相联的部分砌体,当原房屋构架有缺陷时,应先进行修缮补强处理后再牮正。
2 牮正施工应按放松、同步、间歇、复位的顺序分组进行。
3 在木构架上应合理布置牵引点,牵引绳连接端点、柱根撑木均应可靠固定,牵引绳、回拉绳及张紧设备,应具有足够的强度。
4 牮正前,应设观测装置,应有专人观测并进行试拉,经检查符合要求后,方可牮正。
5 牮正时,牵引绳张紧和回拉绳放松应同步进行,并应间歇。当检查牮正量和结构状态正常时,方可继续牮拉。
6 牮正过程中,应随时观测构架的垂直度和节点变化,并做好记录;牮币的构架,牵拉过正不得大于20mm,但验收时,应达到垂直稳定。
7 牮正后,应对构架的连接节点进行修缮补强,砌好墙体,屋面修缮后,方可拆除牮正工具。各立帖构架的柱轴线应垂直,且应在同一垂直平面内。
8 两层构架牮正时,应根据房屋实际情况增设牵引点、回拉绳及张紧设备。
9 当构架双向倾斜时,应牮正一个方向达到查勘设计要求后,再牮正另一个方向。
8.5 其他木构件
8.5.1 安装附懔条,应符合下列规定:
1 安装附檩条前,应设置临时支撑顶棚,并应根据查勘设计和房屋的实际尺寸选定檩条规格。
2 附檩条搁置在砖墙上时,剔凿砖墙的孔洞应规则,应贴近原有损坏的檩条,附檩两端入墙部分应进行防腐处理,并应采用木楔打紧。附檩条应与上部屋面基层贴附,并堵砌好墙的孔洞,檩条搁置长度应符合查勘设计要求。
3 附檩条搁置在屋架上,当采用檩端头刻槽时,其刻槽深度不应大于檩条高度的1/3;当采用托木架檩时,其托木应与屋架上弦固定牢靠,并应满足檩条搁置长度要求。
8.5.2 木楼梯修缮,应符合下列规定:
1 修缮和拆换楼梯斜梁,应加临时支撑,并应按查勘设计要求和实际尺寸放样下料制作。
2 楼梯端部打夹板补强时,应按本标准第8.1.4条规定施工。
3 拆换楼梯斜梁时,三角木应制作准确,与梁粘钉牢固,蹬板粘钉平整,楼梯斜梁的上下两端应固定牢靠,其靠墙和着地部位应进行防腐处理。
4 拆换装帮楼梯斜梁时,斜梁的踏步刻槽位置准确,踏步斜梁贴附严实,楼梯斜梁的两端,应固定牢靠,楼梯斜梁之间应拉接牢固。
5 楼梯斜梁上的三角木损坏可根据损坏程度采取不同的修缮方法;三角木松动可加钉钉牢;三角木碎裂,新换的三角木应按原样复制,保持原踏步的尺度。
6 踏步板磨损严重,可翻面后使用,将磨成圆口的一面翻面朝里;也可将磨损严重部位锯掉,粘拼相同的木材,拼接后的踏步板应拼缝密实、刨光、倒角,钉牢在梯段的三角木上。
8.5.3 木顶棚修缮,应符合下列规定:
1 修缮施工前,临时支撑应复位。
2 木吊杆,端头劈裂的应进行更换,数量不足的应加密,各吊杆端头应采用不少于2个钉子钉牢。
3 当顶棚的主搁栅或龙骨损坏,采用木夹板补强时,应符合本标准第8.1.4条的规定。
9 防水
9.1 一般规定
9.1.1 屋面基层上敷设防水层应在基层检查合格后方可施工。
9.1.2 屋面防水层修缮时,应先进行檐口、檐沟、出水口、斜沟及天沟的连接处处理,再由屋面标高最低处向上施工。局部屋面拆除修补时,应采取措施保护完好部位,损坏部位应按原样修缮。
9.1.3 地下室防水修缮施工前,应先检查、修补好防水结构层,经检查合格后,方可进行防水施工。施工中,宜进行地表水和地下水的排水处理。
9.1.4 屋面防水层雨期修缮施工时,应采取防雨遮盖和排水措施。冬期修缮施工时,应采取防冻保温措施。
9.1.5 当卫生间、屋面具备蓄水条件的檐沟、天沟防水施工后,应进行蓄水试验,蓄水时间不得少于24h。
9.2 屋面
9.2.1 卷材防水屋面修缮施工应符合下列规定:
1 对于渗水的裂缝,应先沿裂缝剔出宽度不小于30mm、深度不小于20mm的V形槽,将槽内浮灰、杂物清理干净,并进行注浆处理后,再涂刷界面剂,然后在槽内嵌填柔性密封材料,密封材料应饱满、密实,施工中不得裹入空气。
2 对于表面浅裂缝,应先将裂缝处面层浮灰、杂物清理干净,再沿裂缝(两边大于150mm)区域涂布带有胎体增强材料的防水涂料或铺贴卷材。防水层应满粘满涂,新旧防水层应搭按严密。
3 卷材屋面局部起鼓渗漏时,应先切开空鼓处,排出水和气,复平卷材,扫清积尘杂物,并在起鼓卷材中注入胶粘剂,再在面层上部铺贴一层卷材。
4 卷材防水层局部龟裂、发脆、腐烂等破损时,宜先铲除破损部位防水层,并将基层清理干净、修补平整,再重新铺设卷材防水层,修补卷材防水层与原防水层的搭接宽度宜大于或等于150mm,且搭接部位应紧密牢固,然后恢复保护层。
5 卷材防水层整体翻修时,宜先铲除原有防水层,再用水泥砂浆将基层修补平整,待干燥后,应按现行国家标准《屋面工程技术规范》G3 50345的规定重新敷设防水层及保护层。9.2.2 涂膜防水屋面修缮施工应符合下列规定:
1 泛水部位修缮时,应先清除泛水部位的涂膜防水层,将基层清理干净、干燥后,再增设涂膜防水附加层,然后涂布防水涂料,涂膜防水层有效泛水高度不应小于250mm。
2 天沟水落口修缮时,应先清理防水层及基层,再做水落口的密封防水处理及增强附加层,其直径应比水落口大200mm,然后在面层涂布防水涂料。
3 涂膜防水层起鼓、老化、腐烂等修缮时,应无铲除已破损的防水层并修整或重做找平层,找平层应抹光压平,再涂刷基层处理剂,然后涂布涂膜防水层,新旧防水层搭接宽度不应小于100mm,外露边缘应用涂料多遍涂刷封严。
4 涂膜防水层裂缝修缮时,应先将裂缝剔凿扩宽并清理干净后嵌填柔性密封材料,待干燥后再沿缝干铺或单边点粘宽度200mm~300mm的卷材条做隔离层,然后在上面涂布涂膜防水层,涂料涂刷应均匀,新旧防水层搭接应严密,搭接宽度不应小于100mm。
5 涂膜防水层整体翻修时,应先将原防水层全部铲除后修整或重做找平层,水泥砂浆找平层应顺坡抹平压光,再在面层涂布涂膜防水层,且应符合现行国家标准《屋面工程技术规范》GB 50345的规定。
9.2.3 瓦屋面修缮施工应符合下列规定:
1 平瓦屋面屋脊局部破损时,应剔除损坏的瓦和灰浆,用水冲净润湿后嵌补水泥混合砂浆,再换上新脊瓦。脊瓦与平瓦之间的缝隙应填实抹压光平。
2 平瓦屋面铺挂斜沟瓦或脊瓦时,应按编号铺设,天沟、斜沟两旁平瓦的挑出沟槽应大于50mm,并应成一直线,斜沟的宽度宜大于220mm。脊瓦应用水泥混合灰浆垫实,且应抹压规整。
3 小青瓦屋面局部破损时,应先剔除两侧灰浆,取山破瓦,再浇水湿润小青瓦和完好部位的灰浆,填实灰浆,并换上新瓦,然后按原样修缮。
4 小青瓦屋脊损坏时,应拆除屋脊损坏部位及两侧坡面300mm~500mm的瓦,清净杂物。檩条不平时,应用瓦和灰浆填垫找平。按原瓦垄(楞)间距定垄(楞),屋脊处坡面底瓦顶端应用勾楞瓦卡住并填垫牢固。
5 筒瓦屋面翻修时,应拆除破瓦,扫清杂物,按原瓦垄(楞)间距,自下而上用草泥或灰浆铺座底瓦,其瓦头挑出檐口距离应为50mm~70mm。
6 筒瓦屋面铺盖瓦时,应先用掺石灰的草泥或灰浆装满挤实两排底瓦间的空隙,做成瓦楞状后,再用麻刀灰铺设盖瓦,与底瓦盖扣应顺直、严实,然后将挤出的灰浆抹压顺直、光平。
7 沥青瓦、树脂瓦等瓦屋面修缮施工应符合国家现行标准《屋面工程技术规范》GB 50345和《房屋渗漏修缮技术规程》JGJ/T 53的规定。
9.2.4 刚性防水屋面修缮施工应符合下列规定:
1 混凝土防水层裂缝在0.1mm以下时,应将裂缝两边100mm~150mm范围内的原防水层及基层清理干净后,再涂刷防水涂料。
2 混凝土防水层裂缝在0.1mm以上时,应先沿裂缝开V形槽,将槽内浮灰、杂物清理干净,槽壁涂刷与密封材料配套的基层处理剂,再在槽内分多次嵌填柔性密封材料,密封材料应饱满、密实,施工中不得裹入空气。
3 补做分格缝时,应先将混凝土凿成宽15mm~30mm、深20mm~25mm的缝,再清净缝内及其两侧的杂物、浮灰,然后用柔性密封材料分多次嵌缝。
4 刚性防水屋面大面积渗漏进行翻修时,宜采用柔性防水层,防水层施工应符合现行国家标准《屋面工程技术规范》GB 50345的规定。
9.2.5 落水管、弯管、水斗等应顺插连接,且应采用铁脚螺栓固定牢靠,铸铁管铁脚间距应为每节1个;钙塑、镀锌铁皮管铁脚间距不宜大于1.0m;硬质塑料管铁脚间距不宜大于1.5mm;钙塑管最下面一节应设3只铁脚。在勒脚部位应做弯头。
9.3 外墙
9.3.1 修缮施工前,应对外墙构造、装饰层做法及渗漏水的部位、原因等进行复查,根据实际情况和查勘设计实施修补。
9.3.2 外墙渗漏修缮前,应将损坏空鼓开裂的墙体、抹灰层、灰缝和积尘杂物等清除干净。
9.3.3 外墙渗漏修缮中,应防止污染周边墙面,且修缮部位饰面层颜色、纹理宜与未修缮部位保持一致。
9.3.4 外墙面抹灰修补时,应补抹规整平顺、牢固。分格和细部的处理应符合查勘设计要求。
9.3.5 外墙面砖饰面层缺陷引起渗漏的修缮应符合下列规定:
1 饰面砖局部损坏时,应先铲除损坏的面砖,并清理干净后,再修补基层,然后用面砖粘结砂浆粘贴与原有饰面砖一致的面砖,勾缝应严密。
2 饰面砖接缝处渗漏时,应光清理渗漏部位的灰缝,并用水冲洗干净,再用填缝材料勾缝,接缝嵌填宜按先水平后垂直的顺序进行,且应连续、平直、光滑、无裂纹、无空鼓,填缝后应及时将表面清理干净。
9.3.6 外墙涂料饰面层缺陷引起渗漏的修缮应符合下列规定:
1 对于饰面层的龟裂、粉化、空鼓、起皮、剥落,应先铲除相应区域旧涂层至坚实基层,可按基层找平、底涂层、中涂层、面涂层的顺序进行涂料翻新施工,涂料翻新施工应符合现行行业标准《建筑涂饰工程施工及验收规程》JGJ/T 29的相关要求。
2 对于宽度较大的裂缝,宜先沿裂缝开V形槽,并将槽内浮灰、杂物清理干净,再在槽内批嵌2遍~3遍外墙专用腻子,待嵌缝腻子干燥后,再按基层找平、底涂层、中涂层、面涂层的顺序涂刷涂料。
9.3.7 外墙非保温墙体裂缝引起渗漏的修缮时,应先沿裂缝开V形槽,将槽内浮灰、杂物清理干净,再涂刷界面剂,并在槽内分多次嵌填柔性密封材料,密封材料应饱满、密实,施工中不得裹入空气。
9.3.8 外墙保温墙体渗漏修缮施工应符合现行行业标准《建筑外墙外保温系统修缮标准》JGJ 376的有关要求。
9.3.9 门窗框周边渗漏修缮时,宜先将窗框和墙体交接处断裂、翘边的密封材料铲掉并清理干净,再在室内外两侧重新嵌填密封材料,并抹刮平整、密实。
9.3.10 外墙大面积渗漏进行翻修时,应符合下列规定:
1 应清除外墙各构造层至基层,并应按勘察设计的要求对基层墙面进行处理。
2 涂料饰面时,应先在外墙覆盖防水抗裂层,由柔性防水砂浆、配套网格布或防水浆料、配套网组成,再按由上而下的顺序分多遍涂刷外墙涂料,涂饰工程质量应符合现行行业标准《建筑涂饰工程施工及验收规程》JGJ/T 29的有关要求。
3 面砖饰面时,应先做防水层,再重新敷设面砖饰面层。
9.3.11 外墙其他部位的渗漏修缮施工,应按现行行业标准《房屋渗漏修缮技术规程》JGJ/T 53的规定执行。
9.4 卫生间及厨房
9.4.1 修缮施工前,应检查渗漏部位、地面坡度和地漏顶面的标高,地面与墙面交角处,管道、地漏、坐便器与楼板结合情况等,准确查出渗漏的部位。
9.4.2 更换地漏时,应找好标高,安装平整、严密、牢固。管道的根部、地漏及坐便器接口应用柔性防水材料填塞、抹压、涂刷严实。过楼板地面管道应除锈,且做好套管。
9.4.3 地面裂缝和边角局部渗漏时,应先凿除渗漏损坏部位的面层、防水层、找平层至坚实处,清理干净后,再补抹找平层。修补防水层应平整、严实,并应做好保护层和地面。
9.4.4 厕浴间及厨房其他部位的渗漏修缮施工,应按现行行业标准《房屋渗漏修缮技术规程》JGJ/T 53的规定执行。
9.5 地下室
9.5.1 地下室渗漏水修缮施工应先堵漏,后做防水层,施工时应采取排水措施。应按先高处、后低处,先墙身、后底板的顺序进行地下室封堵施工。
9.5.2 渗漏墙面、地面修缮部位的基层应牢固,表面浮浆应清理干净。
9.5.3 快速封堵止水时,宜先沿裂缝走向在基层表面切割出深度为40mm~50mm、宽度为40mm的U形凹槽,再沿凹槽走向分段嵌填防水堵漏材料止水并间隔留置引水孔,再用防水堵漏材料封闭引水孔。
9.5.4 注浆止水施工可按清理渗漏部位、设置注浆嘴、清孔(缝)、封缝、配置浆液、注浆、封孔和基层清理的工序进行。
9.5.5 注浆止水施工时,应沿裂缝走向自下而上依次进行注浆,当临近注浆嘴出浆时,可停止从该注浆嘴注浆,并从下一注浆嘴开始注浆,注浆全部结束,待浆液固化且经检查无湿迹、无明水后,应按要求处理注浆嘴、封孔并清理基层。
9.5.6 止水后,设置防水层时,宜在渗漏部位及其周边200mm范围内先涂布防水涂料,再抹压聚合物水泥防水砂浆。
9.5.7 地下室渗漏水修缮施工,应根据渗漏原因、渗漏部位、渗漏面积等情况,按现行行业标准《地下工程渗漏治理技术规程》JGJ/T 212的规定执行。
条文说明
1 总则
1.0.2 本标准适用于已投入使用且高度不超过100mm的一般民用建筑修缮工程的施工。适用于建筑在使用过程中出现的,因老化、年久失修、使用不当等原因造成损坏现象的修缮施工,是以恢复改善既有建筑的使用功能为目的的。
1.0.3 文物建筑、优秀历史建筑和其他有特殊保护要求建筑修缮工程的施工,应按本标准实施,除应符合本标准外,尚应符合国家其他现行有关标准的规定。
3 基本规定
3.0.1 民用建筑修缮工程施工前,应根据修缮工程实际情况,编制针对性的施工组织设计及专项施工方案。应充分考虑修缮工程施工对周边相邻建筑和设施设备的影响,采取必要的对策。比如,如被修缮建筑与相邻其他建筑间距较小,当对其进行地基基础修缮时,应对相邻建筑采取必要的临时防护措施。
3.0.3 修缮工程的工序衔接紧凑,为了保证施工质量,应按有关规定及时进行隐蔽工程质量验收,符合标准后,方可进行后续工序的施工。
3.0.4 工程实践中,经常会遇到建筑垃圾外运不及时、堆积造成楼面荷载过大,导致相应结构构件产生开裂及变形现象,产生严重安全隐患。
4 地基与基础
4.1 一般规定
4.1.2 地基与基础工程的修缮施工是一项复杂的工作,多数是在用户不搬迁的情况下进行的,操作不当易引起不均匀沉降,从而造成上部结构产生损坏。本条规定在施工过程中,需加强跟踪监测,如发现异常情况,应立即采取有效措施进行控制。
4.1.3 修缮施工完成后,应对损坏的项目如路面、下水道、室外明沟、室内地坪等进行修复,不得影响其正常使用。
4.2 地基补强
4.2.1 压密注浆法是一种常见的地基补强方法,浆液材料品种较多,本条规定浆液宜采用普通硅酸盐水泥为主材,当有特殊要求时,也可选用其他品种水泥或特种水泥。
4.2.2 本条规定了注浆孔布置原则,规定了注浆压力的大小及处理原则。注浆压力是控制压密注浆效果的主要因素之一,应特别注意。
4.3 基础托换
4.3.1 树根桩的灌注施工,采用间隔施工、间歇施工或添加速凝剂等,是为防止相邻桩孔位移和窜孔而采取的措施。
4.3.2 本条规定抗压桩孔凿成倒喇叭形,抗拔桩孔凿成正喇叭形,是为了利于原基础承受冲切作用。千斤顶与桩轴线对应重合、对称施工是为了保证桩轴线尽量竖直。压桩时不得中途停歇,否则会因间歇时间过长而使压桩阻力增大,难以继续施工。当压桩力达到1.5倍设计单桩承载力后,应查明原因后再确认封桩。
4.4 基础扩大
4.4.1、4.4.2 规定了开挖基槽时应注意的事项,一是要做好防水浸泡措施,二是不能扰动槽底土质,三是要保护好相邻建筑的地基基础。
4.4.4、4.4.5 砖墙增加扶壁柱扩大基础及钢筋混凝土扩大砖条形基础施工时,扩大的基础与原基础应在同一个持力层上,防止对原基础持力层扰动,有利于控制均匀变形,新增基础与原基础的可靠连接是保证两者共同工作的必要条件。
4.5 房屋纠偏
4.5.3 迫降量是反映纠偏效果的重要指标,迫降过程中要求房屋缓慢而均匀下沉,因而对每天的沉降量作出了要求。
4.5.4 掏土纠偏是国内软土地基地区广泛应用的纠偏方法之一,其优点是设备简单,施工方便。该方法是在建筑物沉降少的一侧基础下掏土,减少基底土的承压面积,增大基底应力,使地基达到塑性变形,从而使建筑物缓慢而均匀回倾。
5 砌体结构
5.1 一般规定
5.1.1 本条对砌体工程修缮所用的材料进行了规定,由于规定了修缮所使用的块材不应低于原结构的块材,因此提出对利用旧砖要进行送检,强度等级要达到查勘设计的要求。为提高修缮部分砌体和原砌体的整体性,规定了砂浆强度要比原砌体设计强度高一级,且强度等级不得低于M5。
5.1.2、5.1.3 对砌体工程修缮前核查、各工序之间的衔接及施工过程检查提出了要求。
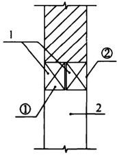
5.1.4 本条规定对保证被剔砌、掏砌的房屋整体结构质量是很重要的。填塞和密实是指:用6mm~8mm厚、50mm宽钢板制成的专用工具锤击,把灰缝、砂浆打实,见图1。

图1 最后一皮砖上缝处理
1-钢板;2-原砌体;3-新剔砌体;4-最后一皮砖上缝;5-新掏换砌体
5.1.5~5.1.7 对拆砌墙体留置的脚手眼和清水墙、毛石墙勾缝前提出要求。
5.1.8 由于冬期施工难以保证工程质量,本条对冬期施工提出要求。
5.2 砖石墙拆砌
5.2.1 本条对所需拆砌墙体的拆除要求进行了规定,严禁整面墙体推、拉拆除。除了安全的考虑,也是为了墙体留槎。
5.2.2 本条对局部和整面墙拆砌新旧墙体位置、接槎的形式作出了规定。其中接槎形式分:直槎、中直槎、大直槎,见图2。

图2 砖墙接槎类型
1-新拆砌砖墙;2-5皮~6皮砖;3-旧墙;4-接槎;5-拆砌一面拐角与旧墙接槎;6-4皮~5皮砖;7-旧砖;8-立砖
设立砖大直槎,主要目的是为了解决砖的厚度不同时,通过设立砖加以调节修饰达到美观。
5.2.3 本条文对毛石墙拆砌作出了规定。
5.3 砖墙剔砌
5.3.1 砖墙因碱蚀、风化、冻融等原因,使外墙表砖损坏时,可采用剔换表砖的方法修缮。该方法在北方地区得到广泛的应用,已有成熟的经验,其做法见图3。

图3 剔砌做法剖面
1-新剔表层砖;2-原砌体;3-剔换砖厚度为半砖;4-被剔墙厚度不小于一砖半
5.3.2 为了使修复后的清水墙修饰达到美观,本条规定了剔砌用砖的尺寸和色泽与原墙砖基本一致,采用的砂浆应符合本标准第5.1.1条的规定。
5.3.3 本条对剔砌前和施工中提出要求。
5.3.4 为了保证所剔面层与原砖砌体牢固结合为整体,本条对新剔墙体结合的质量提出了四点要求:新剔的槎子面处理、新旧砌体的拉结、新旧砌砖的结合缝(竖缝)需砂浆饱满、新旧砖墙层数一致。在施工中需严格执行,其做法见图4。

图4 剔砌后新旧砖墙结合
1-竖缝;2-拉结砖;3-4皮~5皮砖;4-旧墙;5-新剔半砖原砖墙
5.3.5、5.3.6 对新剔表层砖墙与被剔砖墙边缘连接部位、旧砖的接槎、最上一皮砖、最上一皮灰缝提出了具体要求,见图5。

图5 剔砌砖墙立面
1-原墙面;2-新剔面层砖的槎子面;3-原墙面;4-最上一皮砖上缝;5-最上一皮砖;6-分拆剔砌;7-预留直槎
有的提法属操作工艺,但考虑到对剔砌质量至关重要,所以在这里重复提出以保证剔砌段与新旧墙连接质量。
.4 砖墙掏砌
5.4.1 掏砌一般在房屋下部墙体进行。施工质量直接影响到房屋结构的安全,所以要求施工前应编制施工方案。
施工中是否采用支撑,应与查勘设计人员密切配合。结合房屋墙体损坏状况,结构布置、门窗洞口的大小,砌体砂浆强度等级等具体条件确定。必要时应经查勘设计人员复核计算确定。
5.4.2 采用分段、间隔、间歇作业法进行掏砌。这是结合砖块砌体的特点和多年实践的总结。分段是指在编制施工方案时把被掏墙沿水平方向分成段,一般宽度在1200mm以内,并编好掏砌的顺序号。间隔是指每个施工段不能与相邻施工段连续掏砌,应间隔一定的距离,在适当的位置进行。间歇是指所掏砌的砌体养护一定的时间,砂浆达到一定的强度等级时(一般可间隔2d)才可掏砌相邻段砌体。
5.4.3~5.4.7 对掏砌施工过程提出技术要求。
5.5 砖墙掏拆洞口
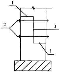
5.5.1 双过梁法掏拆门窗洞口是由查勘设计确定的,见图6,该方法是把1个过梁分成2个,施工时,先由一侧把过梁①加上,在另一侧把过梁②加上后,再掏拆下部的洞口砌体。

图6 用双过梁掏拆洞口
1-新加过梁;2-设计掏拆砌体洞口
5.5.2 掏拆大洞口或整面墙方法较多。经比较,短柱法和托梁法比较合理,能较好地保证整体结构质量。
短柱法、托梁法是由查勘设计制定的,此项技术比较复杂,涉及结构安全,要求严格。
5.5.3 短柱法:利用预先加工好的金属短柱代替临时撑柱,见图7。短柱的布置,当楼顶板为预制板时,每块板一端不得少于—个短柱。

图7 短柱法掏拆大洞口示意
1-外墙;2-原房屋楼顶板;3-短柱洞口;4-新加短柱;5-新加壁柱;6-短柱洞口间砌体;7-新加壁柱;8-内墙
5.5.4 托梁法:新加结构和施工示意,见图8。

图8 托梁法新加结构示意
1-新加承重梁;2-新加托梁;3-被掏拆砌体;4-原木楼板;5-木搁棚(龙骨);6-托梁;7-壁柱;8-承重梁;9-被掏拆砌体
5.5.5 从结构安全方面考虑,只有新加结构的混凝土强度达到设计强度等级时,构件的承载力才能满足设计要求。
5.6 砖墙防潮层(带)修缮
5.6.1 掏换防潮层(带),一般情况下和剔砌、掏砌墙体同时进行,在编制施工方案时是否采用有支撑或无支撑掏换,应与查勘设计人员密切配合,结合房屋损坏情况,洞口大小、砂浆强度等级等具体条件确定。在确定掏换的作业宽度时,设计与施工应密切配合,应按不同墙体结构部位和砌体砂浆等级确定,一般施工段作业宽度不超过1200mm。采用预制混凝土条板掏换防潮层做法,见图9,也可采用铺设防水卷材、分段浇筑混凝土的方法进行,施工方法基本相同。

图9 用预制混凝土板掏换防潮层(带)
1-原有墙体;2-预制混凝土板;3-新掏换墙;4-素水泥灰缝;5-防水卷材
5.6.2 化学注射法是近年来采用的新材料、新工艺,通过向墙体内适当部位注射防水剂,以形成连续的防水带,作为新的防潮层(带)。化学注射法是将墙体打孔,注射防水剂,达到防止墙体上升水的效果。经过多种注射防水材料的比较和试验,特种有机硅复合材料具有较佳的防水效果。适合注射修复防潮层的硅烷及硅氧烷,需具备如下特点:水性硅烷的浓缩液(打斜孔施工)或膏体(打水平孔施工)有良好的渗透性,渗透深度大于50mm,以保证形成连续的防水层,施工方便,可采用无压力施工。对于普通的有机硅树脂乳液,由于渗透性差(一般渗透深度小于20mm),不适合作为注射用。
5.7 砌体裂缝修缮
5.7.1 砖砌体裂缝修补一般有填缝法、压浆法、外加网片法和置换法,后两种方法按本标准第5.2节和第5.8节执行。填补裂缝材料选用应满足相应标准的规定,槽内涂刷树脂基液是为了进一步提高填充材料和墙体材料间的粘结强度,增强其整体工作性能。
5.7.2 对于多条裂缝或重要的墙体修缮施工前,应编制施工方案,内容应包括:灌浆设备的选择、浆液材料及配合比的确定、灌浆嘴的布置和相关的技术措施。因墙体内除裂缝外,尚有较多空隙,灌浆量大,从经济和工艺方面考虑选用水泥基灌浆料作为主要胶结材料更为合理。对于低强度等级砂浆砌体,在向裂缝注入压力水时,应适当降低水的压力。
5.8 砖砌体修缮补强
5.8.1、5.8.2 砖柱(墙)修缮补强选用2种常用的外包混凝土和抹水泥砂浆加筋补强做法,提出了相应的施工技术要求。砖柱(墙)与楼板接缝,应用干硬性混凝土填塞严实,系指新加外包混凝土柱(墙)上端与梁板相接处的混凝土,不能一次浇筑到顶,当二次填塞时对混凝土浇筑的技术要求。对于砖柱(墙)的相邻层之间补强,钢筋通过预制板或现浇板时,不能凿断钢筋。
5.8.3 外包型钢补强砖柱,见图10,组成钢构架的角钢通长连续,中间不得断开,若长度受限,应采用焊接。为消除钢构件和砖柱之间过大的间隙而引起的补强柱变形,以利于钢构架和原柱的共同作用,一定要保证水泥砂浆填实或灌浆料压注饱满。

图10 外包型钢加固
1-原砖柱;2-角钢;3-缀板;4-缀板与角钢焊接;5-注胶
5.8.4 砖柱外加预应力撑杆补强,见图11,采用该方法能较大地提高柱的承载力,但施工时,应由设计单位对原结构局压区进行计算,防止局压破坏,并不适用于长期处于高温环境中。

图11 预应力撑杆补强
1-原砖柱;2-角钢支撑;3-传力顶板;4-缀板;5-安装螺栓;6-工具式拉紧螺杆;7-加宽缀板
5.8.5 当采用该方法时,原墙体砖的强度等级不得低于MU7.5,砂浆强度等级不得低于M1.0,并且墙体不得有裂缝、腐蚀、风化。
5.9 增设圈梁、构造柱、扶壁柱
5.9.1 在标定连接件位置时,应注意根据建筑物开间尺寸,以不大于设计要求的间距均匀排列,使每个开间的连接件数量、位置达到基本相同。
圈梁浇筑需留有施工缝时,在第二次浇筑混凝土前,应处理好施工缝接槎,常见做法:二次浇筑混凝土前,接槎处用水湿润,涂浇一层水泥砂浆,再浇筑混凝土。加设圈梁施工中,销键等的有效连接,是保证圈梁与墙体连接的关键,故连接处浇筑与振捣应密实。
5.9.3 横墙承重房屋的内墙,可用2根钢拉杆代替圈梁;纵墙承重和纵横墙承重的房屋,钢拉杆宜在横墙两侧各设1根。每道内纵墙均应用单根拉杆与外山墙拉结。
钢拉杆接头数量与钢拉杆长度的关系,是考虑到保证施工能顺利进行,同时又尽可能减少接头数量而确定。钢拉杆的直径应根据钢拉杆长度和设计要求等条件确定。
5.9.4 钢筋网水泥砂浆砌体组合圈梁、构造柱见图12、图13,当采用双面组合圈梁、构造柱时,穿墙拉结钢筋宜呈梅花状布置。根据相关研究资料,组合构造柱刚度较一般混凝土构造柱刚度有较大幅度的提高,施工简单,造价低。采用组合构造柱与楼板可靠连接时,凿孔穿通楼板不得伤及板内钢筋,采用砂浆填实。

图12 钢筋网水泥复合砂浆砌体组合圈梁
1-原有砖墙;2-纵向钢筋;3-箍筋;4-拉结钢筋(呈梅花状设置)

图13 钢筋网水泥复合砂浆砌体组合构造柱
1-原墙体;2-纵向钢筋;3-箍筋
5.9.6、5.9.7 当增设扶壁柱以提高受压墙体承载力时,应沿墙体内外两侧增设扶壁柱。采用的块材强度等级应比原结构的块材强度等级提高一级,不得低于MU15。扶壁柱设置的基础埋深应与原基础相同,以避免对原墙基础的不利影响。
6 混凝土结构
6.1 一般规定
6.1.1 由于缝隙较小,填塞不易密实,当填塞用的材料具有微膨胀性时,能提高填塞效果。
6.1.2 民用建筑修缮工程施工,一般都是在荷载作用下进行的,实际荷载情况又常常较为复杂,修缮施工中要特别注意安全问题,确保原有房屋的安全极为重要。
6.1.4、6.1.5 树脂混凝土、微膨胀混凝土、化学浆液等以及掺外加剂的混凝土是加固常用材料,由于其用料较少,各施工单位对其配制工艺远不如普通混凝土熟悉,为此,在施工前对这类材料进行试配,满足强度及施工工艺要求,是保证加固质量的重要措施之一。
6.1.6 为了保证新浇混凝土与原混凝土结合良好,并保证混凝土密实,确保浇筑质量,混凝土宜使用机械振捣。当有的部位无法使用机械振捣,而采用人工捣固时,应保证混凝土密实。
6.2 新旧混凝土界面
6.2.1、6.2.2 要使新浇混凝土与原混凝土结合成整体,并共同工作,原混凝土结合面的处理是保证其良好结合的基本条件之一,条文对新旧混凝土结合面原混凝土的处理提出了技术要求,施工中对原混凝土结合面作清除、凿毛、冲洗以及剔凿等,都是为了提高结合面粘结强度。
考虑到新旧混凝土结合面处,原混凝土一般比较干燥,如不提前浇水浸透,与之相连的新浇混凝土就会失水产生收缩,在结合处形成裂缝,所以提出了此规定。
冬期施工时,需要清除原混凝土结合面上的冰碴、冻霜等,而采用热水冲洗是简单可行的方法。
6.2.3 新旧混凝土结合面采用界面剂时,可以大幅度提高结合面的粘结强度。目前,使用的界面剂很多,由于其基层处理、施工条件、操作工艺各不相同,施工中应当根据选用的界面剂类型,按照其操作工艺进行施工。
6.2.4 局部缺陷修补时,为了减少灌入混凝土收缩产生裂缝,尽可能采用干硬性混凝土或环氧混凝土。当孔洞较深时,为了保证新旧混凝土紧密结合,应分层填补密实。6.2.5 混凝土需保证有足够的温度、湿度,水泥水化才能正常进行,由于自然养护的湿度随气温等条件变化,为保持潮湿状态,在混凝土凝结以后,表面覆盖草袋等,并不断浇水,可以避免混凝土发生干缩裂缝。
有关资料表明,在相同养护温度下,当混凝土保持潮湿养护14d,其强度能达到保持潮湿养护28d强度的90%以上。
新旧混凝土结合体的养护很重要,影响粘结强度与凝缩裂缝的产生,如早期脱水、过早经受振动、温度应力等因素影响,除降低粘结强度外,甚至会造成结合面的开裂。
6.2.6~6.2.8 原有钢筋上粘结的污物、锈蚀层,对钢筋与新旧混凝土的粘结极为不利,应在浇筑混凝土前清理干净;钢筋搭接处钢筋锈蚀对焊接质量有很大影响,为此,编制组做了几组新旧钢筋搭接焊接对比试验,第一组焊接处原有钢筋打磨出金属本色,第二组原有钢筋不作除锈处理,试验结果为:第一组试件均未在焊缝处发生破坏,而第二组试件大部分焊缝撕开,因此,本标准第6.2.8条规定搭接处原有钢筋应打磨出金属本色。
外露钢筋与周围混凝土的净空较修补混凝土机骨料大6mm,是根据国际混凝土修补专家协会《修补因钢筋锈蚀的混凝土时表面清理技术指南》中外露钢筋与周围混凝土的净空较粗骨料最大粒径大1/4ft(1ft=304.8mm)换算而得到的。
6.2.9 钢筋受热后应力下降,为了尽可能减少焊接时钢筋的受热时间,应采用电弧焊;另外,为了确保原结构的安全,焊接时,应对原构件采取支顶等安全措施。为保证焊接处新旧浇混凝土的连接质量,需清理焊渣与受焊接影响的混凝土,为了减少钢筋局部的应力损失,减少热应变,钢筋焊接宜分段、间歇进行。
6.3 混凝土板
6.3.3 剔凿受力钢筋保护层时,尚应注意板的两端及板下梁侧面需凿除混凝土保护层。本条规定的钢筋剔凿长度与宽度是根据满搭接长度和焊接施工能正常进行而确定的。
6.3.5 本条加固法见图14。

图14 圆孔板加固
施工中注意支顶、剔凿、钢筋位置、浇筑振捣等几个主要技术环节,本条就这几方面提出了相应的技术要求。
6.3.6 悬挑阳台、雨篷发生开裂、倒塌的原因很多,有设计、施工、使用等多方面的原因,本条对其中一种受力较为明确、不改变建筑立面、施工较简便的阳台、雨篷修复方法提出了施工技术要求。
板上加负筋修复时,施工中应抓住凿毛、清洗、润水、基层处理、振捣和养护各个环节,并注意保证板上部负筋的保护层厚度符合查勘设计要求。剔凿板根部位V形沟槽时,深度应大于原裂缝深度,是指原裂缝两侧松散的混凝土应剔除,深度应剔至无裂缝处,并至坚实部位,在外墙上凿洞加筋时,在满足施工要求的情况下孔径越小越好,并宜采用组筋布筋,减少墙体剔洞。施工中,切忌硬敲猛砸,尽可能减少对墙体等结构的损伤。墙洞处混凝土浇筑密实,是指墙洞处应用混凝土填塞密实,当墙洞较高时,应分层填补,施工中,墙洞处不得用砖堵砌。
6.4 混凝土梁
6.4.2 梁下增厚加固时,有关试验指出,梁在一定荷载值下,后浇混凝土布撕脱趋势。因此,梁底除凿毛外,宜凿出剪力键。剪力键的尺寸也是由有关试验提出的。
6.4.3、6.4.4 本条提出角钢与梁的间隙应用强度等级高的水泥砂浆填实,施工中,可在梁角部范围内抹上水泥砂浆,随着U形箍的拧紧,任其挤出,使角钢与梁接触严密。
6.5 混凝土柱
6.5.2 柱表面补抹平整,是指当原柱有歪曲、缺棱掉角时,应先将柱面用1:2水泥砂浆修补平整,柱角部抹成小圆角。
钢缀板用夹具拧紧角钢时,夹具间距与设置方法见图15(a)。

图15 柱外包型钢加固示意
钢缀板上、下轮流施焊是为了减少焊接产生的热应变,施焊顺序见图15(b)。
6.5.3 混凝土中有害骨料的破坏既难以阻止又难以修补,一般采用彻底置换混凝土的方法来处理。当采取整体置换混凝土进行加固时,为确保施工安全,应分段、分批进行,同时应尽量加快施工进度,降低施工风险。在加固过程中采取监测手段,防止出现安全隐患。
6.6 混凝土构件锈胀处理
6.6.1 混凝土构件锈胀后进行加固,加固效果主要取决于加固材料和施工质量。本条强调清除钢筋锈胀处脱层的混凝土,清除钢筋的锈蚀,这些措施都是为了保证钢筋与混凝土之间有效的应力传递途径。
6.6.2 混凝土的浇筑质量及保护层厚度是影响钢筋混凝土构件耐久性的重要因素之一,对于密实性差且强度低的混凝土及保护层厚度不足规定值70%的混凝土构件,需进行阻锈处理,防止钢筋锈蚀的发展导致的结构安全隐患。
6.6.4 对于锈胀严重的构件,钢筋与混凝土之间的粘结性能严重削弱,钢筋截面积明显减小,从而导致构件承载力较大幅度地降低,需进行补强加固以满足正常使用要求。
6.7 裂缝修补
6.7.1 灌浆前应根据裂缝的走向、宽度、深度及裂缝贯通情况,确定封缝方式、灌浆管形式及灌浆顺序等,这是施工前的一个重要工作环节。
6.7.2~6.7.4 提出了根据裂缝宽度不同,封闭裂缝表面及设置注浆孔的两种方法。清除裂缝内的碎屑与粉尘,可用钢丝刷和压缩空气,见图16。
裂缝宽度和孔距是根据资料介绍,同时参照我国大量工程裂缝修补的经验总结的。
图16 灌浆嘴压力灌缝示意
6.7.6 在安全压力范围内,使用较大的压力,可使浆液扩散范围增大,但压力应逐渐升高,否则,会扩大裂缝。
本条规定灌浆结束后再压注数分钟,是为了使裂缝内浆受压状态下胶凝或固结,保证灌浆密实。
7 钢结构
7.2 钢构件
7.2.5 钢屋架设置临时支撑时,改变了屋架原有受力状态,因此需要对屋架验算各杆件的应力变化。7.4 防腐及防火
7.4.1 钢材表面的防锈漆膜厚度是防止漆膜早期损坏和钢构件过早返锈的必要条件,应严格控制。
8 木结构
8.1 一般规定
8.1.1 木结构修缮前的复查是很有必要的。因查勘时条件所限,不可能对有关构件和部位全部直观检查,所以施工前应复查被加固构件损坏情况、部位、规格尺寸以及相关构件。
木结构修缮施工比较复杂,要求严格,所以要求施工前制定施工方案,其中包括已损坏结构的处理、临时支撑结构的设置、施工技术、施工顺序、安全措施等。
8.1.2 必要时应设临时支撑或卸除上部荷载,是减少被修缮构件的承载,创造施工中的安全条件的有效措施之一。本次修订条文中增加了临时支撑的有关规定。
8.1.3 把补强损伤构件恢复到查勘设计要求的位置,按每个构件实际尺寸套样编号才能确保达到预期的修缮效果。
8.1.4~8.1.6 对木结构修缮补强关键施工技术提出具体的要求。
8.1.7 白蚁和虫害在全国分布较广,由于各地区气候条件、地理环境的不同,白蚁的种类和防治的方法也不同。一般各地都设有专门的白蚁防治机构。因此,在施工过程中发现白蚁,应及时委托白蚁防治专业单位进行处理。
8.1.8 对木结构修缮工程的防护和防火提出要求。
8.2 木柱
8.2.1 嵌入墙内的木柱截面,有方形、圆形及全嵌、半嵌结构形式。由于房屋的变形、木柱根的腐朽下沉在木柱加固前需要重新扶正,施工时一般需拆开砌体才能施工。
8.2.2 本条规定了木柱接墩柱的施工要求。
8.2.3 搭接榫连接,见图17。

图17 搭接榫连接
1-承压面;2-螺栓;3-竖向结合面
8.3 木 梁
8.3.1 木梁或木搁栅多因入墙端通风不良潮湿,年久腐朽。不同地区修缮方法各不相同,综合分析用木夹板加固比较通用可靠,所以选用了木夹板修缮方法。
8.3.2 下撑式钢拉杆修缮补强形式多样,图18是一种较为简单的做法,此做法一般用在修缮截面小、承载能力不足出现颤动或挠度过大的梁,经加下撑式钢拉杆组成新的受力构件。
在修缮施工前,要特别注意检查木梁两端头的材质是否腐朽、虫蛀,只有在材质完好的条件下才能保证钢拉杆固定牢靠。新加拉杆下撑系统应在梁轴线的同一垂直平面内,施工中应注意检查以保证结构的稳定性,达到设计要求。

图 18 下撑式钢拉杆加固梁
1-木梁;2-撑杆;3-支撑钢拉杆
8.3.3 扁钢箍制作要求外形规整,保证尺寸准确,与梁结合贴附。加工时要足尺放样。特别要注意连接螺栓卡口闭合后应有间隙,这样才能使螺栓紧固严密,并与梁表面贴附。
8.3.4~8.3.7 对木梁提出部分修缮补强的施工方法。
8.4 木屋架
8.4.1 木屋架需修缮或立贴式木构架的牮正,大多是由于木材通风不良受潮、虫蛀等多种原因造成局部损坏或变形。由于立贴式构架或木屋架都是重要承重构件,因此在施工前,应根据修缮要求制定不同的施工方案和安全技术措施,确保安全施工。
8.4.2、8.4.3 木屋架端节点因年久上下弦入墙处腐朽,承压面、抗剪面损坏,造成屋架下沉。施工前要拆开直观检查,当需顶升复位时要结合屋架受力特点做必要的临时支撑措施,确保顶升时稳定,防止突然破坏。木屋架端头双面加木夹板施工要求严格,特别是上下弦相接的承压面都应贴附严密才能到达修缮效果。图19是木屋架端节点用木夹板串杆连接补强的一种形式。
8.4.4 木竖杆用钢拉杆修缮补强见图20,除用在屋架中央,也可用在节间的木竖杆补强。
钢拉杆一般有2根或4根。这种形式的串拉杆,穿过钢件孔眼与原木竖杆应对称平行串附,当屋架中央竖杆为木竖杆,施工时需锯截上部时,应对屋架上弦临时支撑以免屋架突然破坏。
8.4.5 立贴式木构架是檩梁柱连接的整体受力结构,由于年久、木柱根腐朽等原因,整个房屋一侧或两侧发生倾斜,严重影响使用和结构安全。修缮多采用牮拉复位方法,南方地区已具有牮正专门技术,一定要按照本条中的施工顺序进行牮正。

图19 木夹板串杆加固
1-原有上弦;2-新加方木;3-新加木夹板;4-串杆;5-原有下弦;6-上弦;7-新加硬木枕块;8-槽钢
图20 木竖杆加固
1-原有木拉杆;2-加固拉杆;3-原有夹板剪面开裂
8.5 其他木构件
8.5.2 木楼梯修缮包括常用的两种类型,明帮三角木及装帮楼梯。对明帮楼梯修缮考虑了拆换打夹板。装帮楼梯只考虑了换帮一种形式。本次修订条文中增加了楼梯斜梁上的三角木损坏和踏步板磨损严重的修缮方法。
8.5.3 木顶棚修缮包括一般常用的木吊杆,把顶棚吊在木檩上及在寒冷地区采用木搁栅承受顶棚及保温层的做法加固。
9 防水
9.1 一般规定
9.1.1 在做卷材、涂膜等防水层时要求基层干燥,如干燥不充分,就会使卷材、涂膜发生起鼓,达不到防水要求,所以本条要求对基层进行检验,符合要求后方可施工。
9.1.2 檐口、檐沟、出水口、斜沟、天沟等部位是容易发生渗漏的地方,应严格按操作顺序、工艺和方法施工,确保施工质量。
局部修补时,在拆除损坏部位的同时,应保护好相邻的完好部位,防止造成新的损坏。
9.1.3 地下室渗漏常见于施工缝、预埋件、穿墙孔、变形缝、裂缝、蜂窝、麻面等部位,由于结构层的损坏造成渗漏。所以本条提出先进行核查,将损坏的结构层修缮,符合要求后方可进行防水施工,否则难以取得理想的防水效果。
9.1.5 《屋面工程质量验收规范》GB 50207-2012规定:“检查屋面有无渗漏、积水和排水系统是否通畅,应在雨后或持续淋水2h后进行,并应填写淋水试验记录。具备蓄水条件的檐沟、天沟应进行蓄水试验,蓄水时间不得少于24h,并应填写蓄水试验汇录。”屋面蓄水试验作为强制性要求。对于屋面渗漏修缮,通过蓄水试验检查屋面防水效果,是确保屋面防水效果的有效途径。
9.2 屋面
9.2.1 根据卷材防水层裂缝情况,采用相适应的修缮方法,表面性浅裂缝修缮时沿缝铺贴卷材或涂布带有胎体增强材料的防水涂料,对于出现渗水情况的裂缝修缮时,需将裂缝凿成V形槽,并在槽内嵌填柔性密封材料。
卷材与基层粘贴不实、窝有水分或气体时,受热后体积膨胀导致防水层起鼓。修缮时将鼓泡割除,基层晾干后覆盖铺设一层卷材或涂布带有胎体增强材料的防水涂料,搭接平整严密即可。
9.2.2 泛水处渗漏包括根部和防水层收口处开裂渗漏两种情况。多种原因导致屋面泛水一般达不到设计高度,修缮施工时应予以纠正,修缮完工后泛水高度应大于或等于250mm。
天沟水落口是雨水汇集部位,同时也是防水的重要部位且易发生渗漏,修缮时密封防水及附加层处理措施应满足修缮方案的要求。
防水层起鼓一般为圆形或椭圆形,也有树枝形,且大小不一。多数鼓泡出现在向阳的屋面平面部位,泛水部位也有发生。鼓泡的一般修缮方法是割除,老化、腐烂时应视损坏程度决定采用保留或铲除起鼓部位原防水层修缮措施。
铺防水层前,沿裂缝干铺或点粘隔离层的做法,可适应基层的伸缩变形,能较好地起到缓冲作用。
9.2.3 洒水湿润小青瓦和完好部位的砂浆是为了使新换上去的瓦和修补砂浆同原部位结合牢靠,避免原砂浆和小青瓦吸水造成结合部位出现裂缝。
筒瓦屋面铺盖瓦时规定将挤出的砂浆抹压顺直光平,是指压实后,应将加腮边挤出的砂浆刮掉,抹第二遍青灰浆,应压密实,防止出现裂缝。
9.2.4 刚性防水层大面积渗漏、防水层丧失防水功能时应进行翻修,可采用柔性防水材料修缮,宜先将原防水层裂缝、节点、渗漏部位及板缝处修整合格后再进行翻修。
9.3 外墙
9.3.2 外墙由于直接同外界接触,受日晒、雨淋、高温、寒冷、风沙、污染的侵袭,很容易损坏,因此在渗漏修缮前应将损坏、空鼓开裂等部位清除干净,使修补面能同外墙基本粘结牢固、密实,达到安全防渗漏的目的,如不清除干净,修补面粘结不牢脱落将会造成安全事故,也达不到修补的目的。
9.3.3 外墙渗漏修缮时,如不注意墙面整洁和新旧饰面层颜色、纹理的协调就会造成外观很难看。为此本条对修缮部位饰面层颜色、纹理提出了要求。
9.3.5 面砖饰面层渗漏一般多发生在饰面砖损坏、接缝等部位,当饰面砖局部损坏时,应进行更换,对于因面砖接缝处开裂引起的渗漏,应先将原勾缝砂浆清除干净,再用填缝材料重新勾缝。修缮用面砖粘结砂浆、填缝材料性能在现行行业标准《陶瓷砖胶粘剂》JC/T 547、《陶瓷砖填缝剂》JC/T 1004中有相关要求。
9.3.7 无保温层墙体涂料饰面层龟裂、粉化、空鼓、起皮、剥落等缺陷引起渗漏的修缮,应先将缺陷区域采用钢丝刷等清除至基层,然后再用具有防水功能的外墙涂料翻新施工。宽度较大的裂缝应重点做好嵌缝处理措施。
9.3.10 当一个或多个朝向立面的外墙大面积渗漏时,需要对相应立面墙体进行整体翻修。翻修时,应先清除外墙各构造层至基层,并处理好基层墙面,使其符合设计要求,再根据外墙构造情况,采用相应的修缮措施。
9.4 卫生间及厨房
9.4.1 一般厨房、卫生间渗漏是由于地面排水坡度不足,地漏标高不在最低处,地漏周围排水坡度不合理而积水;地面起砂麻面;节点施工不符合规定出现裂缝等引起的,本条对这些部位提出了检查。确定渗漏部位和原因,再实施修缮。
9.4.2、9.4.3 目前卫生间、厨房渗漏修缮采用涂膜防水较多,当采用涂膜防水时,应按规定做好保护层或地面层。
9.5 地下室
9.5.1 对民用居住房屋地下室,其修缮一般都在内部进行,极少采取大开挖在外部进行修缮,因此在内部修缮时着重堵漏,一般先堵漏后进行修补,本条对地下室堵漏修补的顺序作了技术规定。
9.5.2 由于受渗漏水影响,修缮部位往往有酥松损坏和污物等现象,修缮前应将基面修补牢固、平整。以达到修缮的质量要求,有利于新旧防水层结合牢固,保证修缮质量。
9.5.7 地下室渗漏包括裂缝、孔洞、大面积渗漏及变形缝、施工缝等特殊部位的渗漏,修缮施工时,应根据渗漏原因、渗漏部位、渗漏面积等情况,按照国家现行有关标准的要求,采用适宜的修缮技术。
10 装饰装修
10.1 一般规定
10.1.1 在装饰装修工程修缮施工前,应按实际损坏情况确定施工范围。修缮施工中,将损坏的装饰层剔凿、斩剁、铲除、清理干净。
10.1.2 在剔凿、斩剁、铲除、处理、修补房屋装饰工程中,应尽量恢复保持原有房屋的功能、风貌,不得任意拆改、损坏、污染原有房屋的设备和装饰。
免责声明:本号所发规范均为从网络下载整理,仅供参考方便查询。可能存在版本过时或编辑过程中产生条文遗漏,或是下载的原文有误。对此产生的一切后果概不负责。
